历史上的今天
今天是:2024年09月17日(星期二)
2021年09月17日 | 丰田车载摄像头自动记录违章 变身移动交警
2021-09-17
随着汽车的普及,道路违章也多了起来,如何监控并规范驾驶员合法开车成为一个难题,特别是在没有摄像头的道路,发生事故逃逸后很难追责。现在,丰田申请的车载摄像头新专利可以完全解决这一难题,新系统专门用来记录驾驶违规并将其发送到服务器。

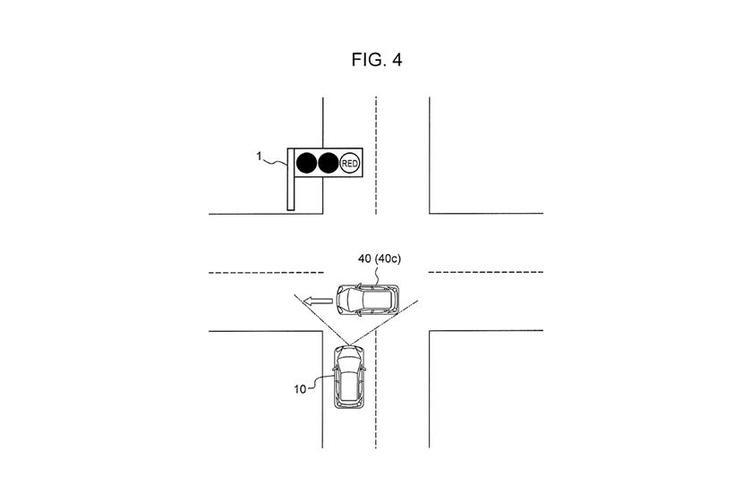
从专利申请的摘要来看,这套交通违章车辆识别系统包括一台丰田车和一个服务器。当搭载该系统的车辆经过红绿灯路口,可以通过拍摄红绿灯以及十字路口迎面而来的车辆或横穿马路的车辆来生成第一张图片。当车辆检测到拍摄的第一张图片中发生车辆交通违章时,它会向服务器发送违章车辆相关信息,包括交通违章车辆的特征信息以及图片。而特征信息则是从第一张拍摄的图片中提取的。



在每个十字路口安装交通违章摄像头投资巨大,但丰田的专利提供了一种新技术,即使在没有安装固定摄像头等的十字路口,也可以找到交通违章车辆并获取识别交通违章车辆的证据。专利申请图也展示了十字路口车辆的布局以及系统的工作方式。

这项专利刚刚获得授权,但并非所有专利都最终会得到应用。一方面,我们希望把所有肇事违章之人绳之以法,但另一方面,我们也不想被人钓鱼执法。想象一下,几年后的一天,我们驾车走在街上,前面一台丰田普锐斯红灯转向引诱我们也跟着违法,而旁边的一台丰田4Runner红色录音灯闪烁,可能它正在收集证据。
编辑点评:丰田这套交通违章车辆识别系统很有意思,让每位交通参与者都自动成为交通执法者。当然,最重要的是,执法的过程并不带个人主观色彩,完全由系统自动识别并上传服务器。如果未来所有汽车都应用上述技术,应该就没有人敢主观故意违章了。丰田的更多消息,敬请关注后续报道。
史海拾趣
|
后天就是考研的日子了,心里觉得沉甸甸的。那么多人对这两天的考试寄予厚望,把自己的前途押在上面。我似乎已经看见,有那么多人未来要失望。 没考上的要失望,考上的又能怎么样?以我的经验来看,工作单位 ...… 查看全部问答> |
|
希望对刚开始学嵌入式,需要用到ADS的朋友有所帮助 本文转引自 飞凌嵌入式 技术论坛 http://www.witech.com.cn/ ARM ADS 全称为 ARM Developer Suite 。是 ARM 公司推出的新一代 ARM 集成开发工具。现在 ADS 的最新版本是 1.2 ,它取代了早期的 ...… 查看全部问答> |
|
有很严重的问题...不知道原因为何: 加载自己的dll驱动,当作访问寄存器的介面(就像hjb的读写小工具) 原以为搞定,但其实错了. 我的平台:OMAP3530 所以以OMAP为例: 访问GPIO是可以的 例如位址:OMAP_GPIO6_PH 0x49058000 读取状态,写入数值都 ...… 查看全部问答> |
|
我是一名新手,刚刚接触单片机,实习接触到了eZ430RF2500的板子。 请问demo程序里的RSSI值是什么单位呢 我把两块板子靠很近的时候是38 是根据什么算的呀 最大值是多少?… 查看全部问答> |
|
最近学习了一下avr单片机,开发环境用的是AS6.0,由于AS6.0相对于以前的AS4有较大更新所以开始还是遇到一点困难的。单片机嘛和430差不多。 用avr单片机读取光洋的10位集电极输出的绝对值编码器然后通过串口把数据传送到电脑,主要涉及的东西就是av ...… 查看全部问答> |
|
各位大侠,小白最近在自学PIC单片机,但是遇到不会的了,PIC16F877A的TMR2定时器中的PR2怎么设置啊?有没有计算公式啊,在网上找了一圈,没有找到,听别人说,要用软件仿真试试,感觉太慢了。实在找不到,故跑来问问坛子里的大侠。不胜感激!… 查看全部问答> |




