历史上的今天
今天是:2024年10月14日(星期一)
2021年10月14日 | 苹果更新了折叠式iPhone相关专利细节
2021-10-14 来源:cnBeta
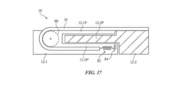
苹果已经申请了许多关于折叠式iPhone的专利。一项被授予的专利是 “具有可滑动扩展显示屏的电子设备”,而苹果刚刚更新了该专利。
苹果在专利当中表示,电子设备通常包括触摸屏显示屏,可用于移动电话或其他便携式设备,为用户显示信息并收集用户的输入。如果不注意,显示屏可能无法提供足够的屏幕空间来显示用户感兴趣的信息,同时,很难将电子设备的尺寸放大太多,以容纳更大的显示屏,因为这可能使设备过于笨重。
苹果在这项专利原始版本明确指出,这一提议是针对具有正面和背面的设备。这可能意味着要么是一个像书一样的设备,可以打开,要么意味着在iPhone
的两面各有一个独立的屏幕。相比之下,更新版本避免了这种模糊性,并加入了更广泛、更多的可能性。该电子设备将有一个配置为在扩展状态和未扩展状态之间移动的外壳。

更新后的版本反复强调以前的细节,使专利申请的范围更加广泛。它描述了一种折叠式的iPhone,在这种情况下,扩大或打开显示屏意味着露出以前隐藏的屏幕。当需要时,可以从iPhone的侧面拉出一个扩大的屏幕。苹果表示,当外壳处于未展开状态时,柔性显示屏的一部分可以储存在外壳的内部区域,在未展开的状态下,柔性显示屏可能有一个或多个弯曲,并可能在自身上一次或多次翻转。
史海拾趣
|
光纤收发器通常具有以下基本特点: 1. 提供超低时延的数据传输。 2. 对网络协议完全透明。 3. 采用专用ASIC芯片实现数据线速转发。可编程ASIC将多项功能集中到一个芯片上,具有设计简单、可靠性高、电源消耗少等优点,能使设备得到更高的 ...… 查看全部问答> |
|
最近刚开始学VHDL,需要使用VHDL语言编程,以FPGA为基础,做一个数字录音存储系统,利用MAX7128电路板来做,需要用到哪几部分?具体的电路该怎么设计~?不知道有没前辈能够指导一下,在此谢过了~… 查看全部问答> |
|
对MTK平台的一些认识 一、 目的 来到这里近两月,更近距离的接近了MTK。身处基于MTK平台的产品开发浪潮之中,让我对MTK有更多的了解,不光是在平台技术本身。就技术上,从软件角度、系统角度,对MTK我应该能给出深度而全面的评价或看法。就产品 ...… 查看全部问答> |
|
目录: 第一部分 典型题解析 第一章 半导体二极管与简单应用 一、内容提要 二、典型题解析 三、习题 第二章 半导体三极管与基本放大电路 一、内容提要 二、典型题解析 三、习题 第三章 集成运算放大器 一、内容提要 二、典型题解析 ...… 查看全部问答> |
|
全球最小的数字界面MEMS麦克风 TDK 集团的分公司TDK-EPC推出了一款商用MEMS麦克风,成为迄今全球最小的、集成了数字界面的麦克风。爱普科斯T4030的尺寸仅为3.25 × 2.25 × 1.1 mm³,比同类产品小60%。这使手机、MP3和数码相机等消费电子产 ...… 查看全部问答> |
|
我在存储管理器,可以看到正常的FLASH大小信息,但看不到分区信息。格式化后,可以看到分区信息,也能看到盘符,可以复制文件到这个盘符。但重启后,盘符看不到,里面的文件也看不到了。 当初以为原来看到的盘符和复制到里面的文件都是在内存里面 ...… 查看全部问答> |
|
请教高手,设计是将NAND FLASH选通输出信号nFCE和ce一起拉高到1.8v,但是上电之后测得CE引脚一直为低电平 请教高手,设计是将NAND FLASH选通输出信号nFCE和ce一起拉高到1.8v,但是上电之后测得CE引脚一直为低电平,就是一直选通,本来应该在读取FLASH数据时候或者有效信号来的时候才为低,这样导致JTAG进不去,我换到32位ROM启动JTAG能进,擦除FLASH后, ...… 查看全部问答> |
|
请各位大侠指教,怎样合理计算DTU的功耗。同事之间讨论没有得出好的办法,自己接上稳压电源测试,发现电流是在不断变化的,而且跳跃量很大,可以达到0.1A。我们开玩笑说直接接到电表上开几个小时算消耗,毕竟实际不可行。请大家教我个方法。如果取 ...… 查看全部问答> |




