历史上的今天
今天是:2024年10月16日(星期三)
2021年10月16日 | TCL显示器技术又突破 实现单块屏幕双屏多模显示效果
2021-10-16 来源: 爱集微
当前的液晶显示器通常为单一显示模式,即一块显示器只能实现一种显示模式,根据显示器材质的不同,其画面带给用户的感受也是固定的。
一方面,对于移动端而言,一些结构较为简单的液晶显示器,具备较小的功耗,但无法实现复杂图像的显示功能;而一些结构较为复杂的显示器,虽然能提供较好的显示效果,但功耗较大,但在只需要进行一些简单画面显示时,其自身原理导致了显示功耗不能相应降低。
另一方面,一些场景中需要显示器的两面均显示画面,对于现有显示器,大多采用两块显示器背靠背的设置方式,每个显示器只负责一侧的显示内容,这样的设置不仅会增加显示器的厚度、不利于节省空间,而且会导致显示成本增加。
为了实现一块显示器的多种显示效果,TCL华星光电在2018年6月29日申请了一项名为“显示装置”的发明专利(申请号:201810697877 .9),申请人为TCL华星光电技术有限公司。
根据该专利目前公开的相关资料,让我们一起来看看这项技术方案吧。

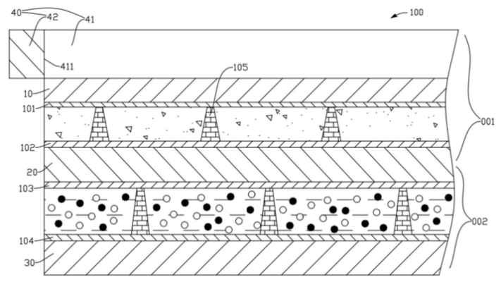
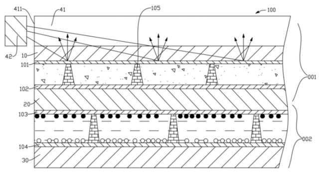
如上图,为该专利中发明的显示装置的剖面示意图,可以看到,该显示装置100包括依次层叠的发光单元40、第一基板10、第二基板20和第三基板30。其中,第一基板位于发光单元与第二基板之间,同时第二基板位于第一基板和第三基板之间。
发光单元包括导光板41和光源42,导光板为侧入式导光板,光源设置于导光板的其中一个侧面411。第一基板和第二基板之间填充有聚合物液晶,第一基板相对于第二基板的表面上设有第一电极101,第二基板相对于第一基板的表面上设有第二电极102。此时,发光单元、第一基板和第二基板以及聚合物液晶共同构成了一个透明场序显示层001。

在上述结构中,当光源发出的光进入到导光板后,会在导光板内部进行反射和折射。第一电极可以制备为电极层,第二电极可以制备为TFT像素阵列。此时,对于该聚合物液晶而言,在无外加电场时,聚合物液晶材料处于无序排列状态,对入射光具有强的散射作用;当有外加电场时,聚合物液晶材料处于有序排列状态,对入射光来说近乎透明。
那么为何会产生这样神奇的现象呢?该专利中解释道:这种机制基于多种原理,其中一种原因为聚合物和液晶的折射率不一致导致光学界面的产生,从而发生散射,而电场对这种折射率的失配具有调节作用。
因此,在第一电极和第二电极的配合下,聚合物液晶可以对导光板内的光线形成一定的散射作用,使得经TFT像素阵列控制的区域具有图像显示;而对于非散射的位置,则将会继续保持透明的状态,由此构成了透明场序显示层。
借助于该原理,该方案中可以分别单独控制透明场序显示层的显示画面以及电子墨水显示层的显示画面,用户在透明场序显示层一侧和电子墨水显示层一侧的观测结果各有不同,这就实现了同一显示器完成双面不同内容显示的功能。
以上就是TCL华星光电发明的同一显示器实现双面不同显示效果的技术方案,该方案中的显示器包括透明场序显示层和电子墨水显示层,具备两种显示功能,可以根据显示内容的需要来切换显示层的工作,并且可以显著控制显示器的能耗。
史海拾趣
|
字符液晶1602和点阵液晶12864 地址的疑惑(初学者提问) 字符液晶1602 确定显示位置的时候 80H 加上地址码 00H-27H 40H-67H。对于80H是如何得出来的? 点阵液晶12864 确定显示位置的时候 B8H 加上页码 40H 加上列码。 对于B8H 40H ...… 查看全部问答> |
|
【课程推荐】+ TI C2000无锡研讨会-太阳能微逆变器解决方案 平时没事看看TI的视频,发现有活动,顺便参加一些,希望拿个奖品,先谢谢TI和eeworld 这次我推荐的课程是 TIC2000无锡研讨会-太阳能微逆变器解决方案 主讲是朱桦 新能源是一个比较大的方向,相信有很多人都是从事这一方面。众所周知的是太阳能变 ...… 查看全部问答> |
|
各位高手,小弟正在分析openpilot源代码,分析到了以下代码:OPLinkSettingsData oplinkSettings; OPLinkSettingsGet(&oplinkSettings);bool is_coordinator = (oplinkSettings.Coordinator == OPLINKSETTINGS_COORDINATOR_TRUE);&nbs ...… 查看全部问答> |
|
我非常喜欢读ADI提供的技术文档比如ADI的大部分数据手册中都会有技术术语或使用技巧的介绍对理解和应用某些产品和技术帮助很大特别是他提供的中文手册翻译的非常全面,通篇都是中文介绍 这次在ADA4817放大器的数据手册里看到了关于布局布线、接地 ...… 查看全部问答> |




