历史上的今天
今天是:2024年11月17日(星期日)
2021年11月17日 | 从“大禹电池”开放专利,看长城汽车的大格局
2021-11-17 来源:EV视界
进入知识经济时代,开放式创新概念日益受到社会的广泛关注,逐渐成为了产业创新的主要方向之一。
专利开放就是开放式创新的一种具体表现形式,近年来在汽车和科技行业,开放专利授权的趋势越来越明显,坐拥大量专利的企业将珍贵的专利权免费提供给相关产业运用的案例屡见不鲜。
汽车行业开放专利授权的趋势正越来越明显,许多坐拥大量专利组合的企业,陆续将手上珍贵的专利权免费提供给相关产业运用。
电动车龙头特斯拉2014年6月宣告放开专利壁垒,紧接着丰田汽车在2015年1月跟进,宣布对其他厂商无偿提供5680项燃料电池相关的技术专利授权。随后福特汽车在5月28日宣称将对外界有偿公开其手中上千项已核准与未核准的电动车专利。
技术创新往往需要站在巨人的肩膀之上,专利开放共享蕴藏着巨大的商业前景与经济价值,它可以进一步强化技术投入的动能,通过转化利用或研究分析,使得创新成果得到更广泛的利用,从而促进技术进步,让社会受益。
“为防范热失控问题,大禹电池技术将对全社会免费开放专利!”正在向全球化科技出行公司转型的长城汽车,也做出了一个令整个新能源汽车行业震撼的郑重承诺,秉持开源精神和推动电动车普及的使命,长城汽车愿意把超过60项大禹电池技术专利全部拿出来共享,惠及整个行业。

当更多车企借助大禹电池技术专利让更多的电动汽车用上这一领先技术,电动汽车安全势必将得到更多维度的保障, 用户体验和信心也得到全新升华。
脚踏实地,坚持创新,真正解决行业痛点,这是长城汽车高度社会责任感的一次重大实践,对于中国新能源汽车行业迈向高质量发展阶段意义深远,这样的举措更值得整个行业尊敬。
放弃“排他”,价值几何?
全球车企都在加速电动化转型,行业的蓬勃发展推动着消费持续升级,高性能电动车成为了市场新增长点。为满足超长续航和动力性,当前大电量电池包仍然以高镍三元电池为主,电芯仍面临内部缺陷、一致性差异、滥用等挑战,无法做到绝对“零热失控”。
解决热失控,提升安全性,由此成为动力电池技术的关键问题,谁能率先突破安全技术瓶颈,特别是破解三元811高镍电池安全性问题,谁就能抢占市场竞争的制高点。
在此背景下,长城汽车成功研发出大禹电池技术,抛出了极具开创性的全新设计思路和研发理念,为此布局数十项核心技术专利,为热失控风险防范树立起了一道安全屏障。
“大禹电池”其实不是电池,而是针对电池热失控问题的一种安全技术,主要设计思路是“变堵为疏”,采用“控+导=通”的核心技术原理,改变了传统以堵为主的电芯控制技术。

长城汽车从电芯、模组、电池系统、整车四个层级,在电芯测试、系统匹配、安全设计、虚拟仿真、测试验证等五个维度,进行矩阵式创新设计,同时融入了8项核心技术:热源隔断、双向换流、热流分配、定向排爆、高温绝缘、自动灭火、正压阻氧、智能冷却,覆盖热源抑制、隔离、冷却、排出等领域,保障电池永不起火、永不爆炸。
我们从国家知识产权局了解到了长城汽车申请的电池模组部分专利细节,发现了“大禹电池”的专利技术高安全价值。

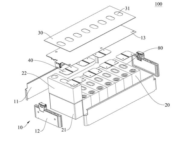
图1
从这2张专利图可以看出,电池包的单个模组里有8个电芯,每个电芯之上设有防爆阀(80)和隔离板(13),单节电芯在热失控情况下,可以从防爆阀(80)排出,隔离板与防爆阀正对的区域形成减弱区,冲开经由防爆阀喷出的气火流并将其排出电芯,在减弱孔(31)位置降低气火流喷射速度后,气火流顺通道横移,从排出口(51)喷出,上方的防护帘(70)控制气火流方向从两端排爆口(图3-21)排出,通过热流分配,从彼此连通的第一排爆口(113)沿着侧板流向第二排爆口(112)安全排出。

图2
定向排爆技术专利通过分流、导流、换流将火源快速引导至灭火通道并安全排出,不仅避免了电池模组在热失控时产生明火,快速将热气火流排出,降低电池包内部多个电池模组之间的热失控蔓延速度,延长车内人员的脱离时间,以及救援人员的救援时间,而且还可以避免电池模组内快速升压,及时排出气火流,降低电池模组损坏程度,避免起火或爆炸,提高使用安全性。
据了解,目前长城汽车已攻克了通道内压力和流量均匀化调节的难点,消除了热量集中,使气火流在通道内分层均匀流动。
值得注意的是,定向排爆时,侧板间隔开排出流道,当疏通高温气火流时,如果其铝合金材质不能及时降温,很快就会被灼烧熔化。为此,“大禹电池”的另一个专利有针对性的解决了这一难题。

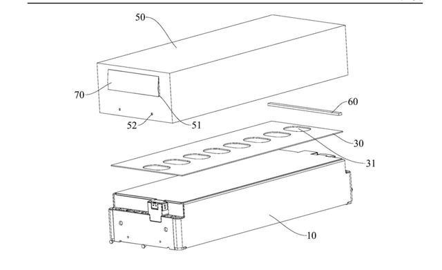
图3
从图3中可以看到,冷却组件(30)与所述排出流道连通,快速降温装置检测到热失控时,驱动泵(32)随即开启,通过冷却液对侧板(11)以及排出流道进行快速冷却,有效地对气火流进行消焰,除了避免电池包外产生明火或二次燃烧,还可避免侧板周围部件受热变形,最后在排火口处还设有灭火盒(40),通过内置喷淋系统向灭火腔内喷淋冷却液,实现对热失控气火流的降温和冷却,延长明火喷出电池包的时间,防止火焰喷出,保证安全。
除了以上这些电池技术专利,长城汽车还开创性构建了整包级热失控燃烧模型,实现气流和火流多维度拟合仿真,填补了行业空白。
依据GB 38031标准,长城汽车选取了行业公认最具挑战的三元811体系高镍大容量电芯,采用最严苛的两个电芯连续触发测试方式,触发模组中间电芯位置,监测数据显示,连续发生3次多个电芯集聚触发热失控,温度最高达到1037℃,电池包内气压达到三次高峰,气压瞬间最高升高16kPa,通过灭火系统抑制电池包外溢烟雾最高温度低于100℃,避免了对周围产生二次伤害。
长城汽车已经确定,最终大禹电池技术完成量产后,计划2022年面向下一代全新电动车平台,全面应用于旗下新能源系列车型。

其实,凭借这样极具创新力的独有技术,长城汽车本可以独享,稳坐市场头部阵营,但长城汽车对大禹电池技术超60项专利开放的决定,并没有提出任何附加条件,而是对全社会免费开放,这恰恰显示出长城汽车不牟利,不设限,积极推动行业发展的高度责任感。
根据中汽协最新数据,2021年10月中国新能源汽车整体市场渗透率维持历史高位,达到16.4%,新能源乘用车市场渗透率更达到18.2%。以中国汽车品牌为代表的新能源汽车发展势头正猛,在向上突破的关键期,长城汽车选择以开放态度,共享技术成果,必将加速新能源车市场占有率的提升。
开放背后的逻辑
大禹电池技术是长城汽车在能源革命、全面电动化技术变革中取得的重要突破之一。从技术角度看,大禹电池技术专利具有了开放的前提条件。

首先,大禹电池技术研发团队针对多种化学体系电池均在开展大禹电池技术多元化应用,除能量密度可突破190Wh/kg的NCM811三元锂电池,还有未来随着镍含量提高电池能量密度更高的三元锂电池、三元锂电池体系的NCA(镍钴铝)电芯及无钴电芯等,以及不同技术线路的磷酸铁锂电池。“大禹电池”还可百搭不同PACK应用技术,满足未来CTC电池PACK与融合方式,进一步提升整体刚性,最大程度保障动力电池的使用安全,具有“普适性”。
其次,大禹电池技术可以实现电芯化学体系全覆盖,任意位置电芯,单个或多个电芯等触发热失控的情况下都能实现不起火、不爆炸,比国标提出的5分钟标准要求更高,这些创新优势在实际应用层面对于行业发展和用户体验都有着巨大意义。
从碳达峰碳中和的大背景看,长城汽车作为中国汽车品牌的领军者,紧跟国家发展目标方向,主动承担减碳使命,致力于多维度深化社会价值,履行产品、社会、环境责任,以绿色、创新、可持续的竞争力,加速向全球化科技出行公司转型。
今年6月,长城汽车正式发布2025战略——到2025年,实现全球年销量400万辆,其中80%为新能源汽车,未来五年累计研发投入将达到1000亿元,计划2045年全面实现碳中和。
为此,长城汽车作为第一个明确提出碳中和目标及实现路径的中国汽车品牌,主动发力,放弃短期利益,打破壁垒,免费开放大禹电池技术专利,正是对战略目标的一次实际行动呼应。

长城汽车董事长魏建军曾表示,“中国汽车品牌,要想实现真正意义上的超越,只有在这三至五年的时间里,快速放大优势,才有可能在新能源和智能化新赛道上领跑。而且,中国汽车品牌的机会,只有一次。”
言必信、行必果,显然,长城汽车抓住了机会,碳中和目标的实现不是在夹缝中求小生存,而是在新机遇中谋求大发展,大禹电池技术专利的开放恰好反应出长城汽车敢为人先的大格局。
结语
当下,新能源汽车正在成为汽车产业发展的新引擎,大禹电池技术将电池安全提升到了全新高度,长城汽车放弃了专利权的一项基本特质——排他性,致力于以出色的技术和开放的态度,通过专利共享提升整个电池行业的水平,并由此孕育出更多更安全的产品,当量的积累之上产生质变之时,正是技术开放共享的强大意义之所在。
史海拾趣
|
现场总线是一种开放式、 数字化、多点通信的控制系统局域网络, 是当今自动化领域中最具有应用前景的技术之一。CAN总线是现场总线中的应用热点,CAN总线支持分布式控制和适时控制的串行通信网络。 由于CAN总线具有通信速率高、开放性好、报文短 ...… 查看全部问答> |
|
最近要在原来的板子上添加3G模块,用的是中兴的MC8630,但该模块的AT指令是通过串口来发送接收的,而相关的数据信息是通过USB来进行的 如此一来,我们是这样设想的:在原来的板子上模拟一个虚拟串口来接收上层的AT指令,然后该虚拟串口再把接收到的指令 ...… 查看全部问答> |
|
DIY导航避障车小组今日下午展开第一次例会,在本次例会中大家集中讨论了无线的选择,避障的选择等等部分,并对小车进行了前景规划,以谷歌的自动驾驶车为终极目标,大家积极发言例会持续了一个半小时,并表示未来会采用各种新技术。下次再来把细节 ...… 查看全部问答> |
|
一个额定量程为10吨的称重传感器,激励电压为10V,灵敏度为1.0+-0.005mV/V,零点平衡+-1%F.S,综合误差为+-0.02%F.S 那么在货物重量为5吨时,误差应该是:5TX0.02%=0.001t=1千克吧。。 那么按网上一些知识的理解,当货物为10吨的时候,在10V的激 ...… 查看全部问答> |
|
这个有的网友调通过,我调了不通,有看官问了,你笔记发了不少,网络程序也编成功并跑通了。怎么SD卡例程还调不通。真地假地? 我SD卡调通过但不是例程。我现在说的是开发板上的TI原装例 ...… 查看全部问答> |




