历史上的今天
今天是:2024年11月18日(星期一)
2021年11月18日 | 复享光学光谱系统方案 为芯片微纳结构添科技之“光”
2021-11-18 来源:爱集微
诞生于高校实验室的复享光学,以光子学的物理模型为基础,结合神经网络分析的光谱智能技术,创新性地打造包括频率、动量、位置、偏振、相位等全面而智能的光谱技术,提供检测系统的核心零部件和解决方案,为半导体检测注入了一股新鲜的活力。
可以说,这是一种非常新颖的技术,但同时,也是一种具有极大难度的技术。在测量有机发光材料的发光特性时,通常会测量有机发光材料中的分子偶极取向参数,这主要是因为有机发光材料的偶极子的分布取向信息、有机发光材料各层材料的折射率与吸收系数,通常决定着有机发光材料的能量分布与发光特性。
因此,借由偶极子的分布取向信息可以用来衡量有机发光材料的能量分布与发光特性,传统的测量有机发光材料的方案,通常只能测量偶极子竖直取向信息,因此,难以精准衡量有机发光材料的能量分布与发光特性。
而为了能对有机发光材料组件中的偶极子分布取向信息进行提取,复享光学在2020年7月8日申请了一项名为“用于测量有机发光材料的方法、计算设备和计算机存储介质”的技术方案(申请号:202010650983.9),申请人为上海复享光学股份有限公司。
根据该专利目前公开的相关资料,让我们一起来看看这项技术方案吧。

如上图,为该专利中发明的用于测量有机发光材料的方法的系统的示意图,该系统包括光谱仪110、待测有机发光材料组件120以及计算设备130。光谱仪用于扫描测量经由待测有机发光材料组件和棱镜发出的各个角度的光强,并可以生成非偏振光谱信号。
光谱仪包括旋转装置112和114、样品台、光谱输出接口、内置光源、分束镜和透镜,两个旋转装置可以分别控制光的出射方向和入射方向,旋转装置能够实现0~360°的角度范围的精密滑台,以便实现0~360°的光谱测试。
计算设备用于基于经由扫描测量而得到的非偏振光谱信号,确定待测有机发光材料组件中的偶极子分布取向信息。其包括非偏振光信号获取单元132、光谱分布特征生成单元134、对照光谱生成单元136、比较值计算单元138和偶极子分布信息确定单元140。

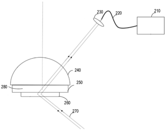
如上图,为基于上述系统的用于测量有机发光材料的方法的示意图,待测有机发光材料组件280(OLED组件)放置在光谱仪的样品台上,使得衬底250远离待测有机材料层260的一侧,同时也将棱镜240(圆柱棱镜)层叠至衬底远离待测有机材料层的一侧。

具体的有机发光材料的测量方法如上图所示,首先,将待测有机发光材料组件放置在光谱仪的样品台上,使得入射光以预定角度从待测有机材料层远离衬底的一侧照射待测有机材料层。具体而言,可以通过控制光谱仪的旋转装置旋转,使得入射光从待测有机材料层远离衬底的一侧以预定角度入射待测有机材料层。其次,旋转光谱仪的探测装置,以便扫描测量经由棱镜发出的各个角度的光强。
最后,基于经由扫描测量获得的非偏振光谱信息与对照非偏振光谱信息之间的比较,确定待测有机发光材料组件中的偶极子分布取向信息。其中,偶极子分布取向信息应当包括偶极子的竖直分布信息和偶极子水平分布信息,对照非偏振光谱信息经由叠加p偏振光谱信息和s偏振光谱信息而生成。
以上就是复享光学发明的有机发光材料的测量方案,该方案利用基于光谱仪和计算设备的测量平台,通过对比非偏振光谱信息与对照非偏振光谱信息,来确定待测有机发光材料组件中的偶极子分布取向信息,以达到精准衡量有机发光材料发光特性的目的。
史海拾趣
|
摘 要: 介绍一种运用PIC16F84单片机实现与PC机串行通信的方法,并给出其硬件接口电路及通信源程序。 关键词: 异步串行通信 发送与接收 VB4 Win95 串口查询法 作者: 西安第四军医大学生物医学工程系 电子学教研室(710032) 焦 纯 陈马丁 ...… 查看全部问答> |
|
哪位大虾有现代硬盘(大容量)接口编程的详细资料啊,小弟求教啊 小弟最近在研究Linux,看到这一部分的时候感觉很晕,希望高手赐教 如果有资料给小弟发一下,谢谢 chenhaiyang628@163.com… 查看全部问答> |
|
AVR ATmega16 驱动ULN2003无法同时吸合6个继电器 打算使用AVR ATmega16单片机控制ULN2003,驱动欧姆龙G6L-5V继电器。 遇到了继电器部分情况下响应不正确的问题。现象:控制单片机在PB口输出11111111(8个高电平)时,无法开启继电器,K1-K6均没有反应。但是当PB7-PB2有一个为低电平时,继电器响应 ...… 查看全部问答> |
|
上周末,老板让我做个任务:一路PWM信号,要求经过0.5-5s的延时后原样输出。先到的信号要先存储,延时后输出,信号连续延时。我开始觉得挺简单的。但做的时候发现问题多多。请高手指点指点。… 查看全部问答> |




