历史上的今天
今天是:2024年11月19日(星期二)
2021年11月19日 | 苹果可穿戴专利解密:可用于AR和VR
2021-11-19 来源:爱集微
集微网消息,据报道,苹果目前的“可穿戴设备”产品线主要包括Apple Watch智能手表和AirPods耳机。苹果未来可能会寻求进一步拓展产品类型,覆盖钥匙扣、智能门锁、手环和项链等产品。

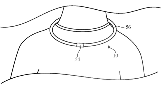
最新披露的专利显示,苹果很可能会涉及更多可穿戴设备。专利名为“带有嵌入式电路的可穿戴环”,主要描述了“带有电路布线和外壳单元的电子设备”,其可用于多种可穿戴设备,甚至实现类似钥匙扣大小的电子产品。
专利说明中称,“这样的电子设备可以佩戴在用户身上,也可以附着于其他物体上。设备可以采用环状、带状或细绳状等形态,从而缠绕、捆绑、悬挂,或是以其他方式附着在人、动物或其他物体上,”同时,“可以用来向用户提供输出(触感输出、音频输出以及视觉输出)。”
设备还可以“保存有关个人或对象的标识信息”,或“保存用户的消息”,“可以用于增强现实或虚拟现实系统中的锚点或视觉标记”。
这项专利证明苹果未来可能将继续扩展可穿戴产品阵容,同时还有望将可穿戴设备引入VR或者AR,适应更多使用场景的同时,来扩大市场份额。
史海拾趣
|
我弟要做一个记录温度的设计,求各位大大帮个忙~小弟在此跪下了 要求: 检测温度:在LCD显示温度信息。 记录温度:按下0#键,LCD显示提示信息“正在存储”,完成向EEPROM存储当前温度的功能,同时记录已存储温度的总记录数。 传输温度:按下1#键 ...… 查看全部问答> |
|
请问一下如果要修改堆栈的大小, 是不是修改 EBOOT.BIB 文件里面的 STACK 的大小就可以啦? 然后把后面的地址都重新设置初始地址就可以了? MEMORY ; Name Start Size &nb ...… 查看全部问答> |
|
各位大侠好,小弟有个问题请教! 我在一台机子上装了两个网卡,安装了自己改写的passthru程序。我知道passthru会自动绑定到两个网卡,问题是,当我收到包的时候,比如在ptreceive里面,怎么能判断这个包是哪个网卡收到的呢?… 查看全部问答> |
|
16*16点阵LED屏显示字体出错,相比造字程序的点阵错了!! 本人以经肯定电路的硬件连接没有问题了,4个8*8的点阵屏都有点亮,但和造字程序相比的点阵错了,本人可以推断出硬件是左移或右移,当有仿真器调试 A P2口全为1时,P1.0-P1.3的四位0或1可以控制16*16点阵的下半部灯一行一行亮,可以上下或左右移动. B P2 ...… 查看全部问答> |
|
引言 控制器局域网(CAN)标准不断发展,正用于车载和工业网络之外的许多新应用。支持它的微处理器变得普遍且价格低廉,并且开源协议栈让其非常容易访问,同时也容易添加至新系统。有许多CAN板可用于BeagleBone (Capes)、Stellaris® (Booster ...… 查看全部问答> |




