采用TI ADS9813 ADC突破PMU测量瓶颈
2026-03-25 来源:德州仪器
简介
自动化测试设备 (ATE) 机架包含各种电子子系统(例如电压- (VI) 源卡),可用于进行测试。VI 卡的功能是提供精确稳定的电压和以及测量来测试半导体器件的特性。参数测量单元 (PMU) 为 DUT 生成激励(电压和电流),并检测电压和电流。这种测量可通过 PMU 的多路复用电压电流 (MVIx) 输出进行,而 () 用于测量响应。然后,可以分析这些测量结果以确定器件的电气性能,并确定任何潜在缺陷。
VI 卡包含多个子系统通道,如图 1 所示。更多的 VI 通道可实现 DUT 并行测试,同时减少测试时间和成本。

图 1. ATE 中的 VI 卡
自动化测试设备应用中的 C
ADS9813 ADC 是一款基于 18 位逐次逼近 (SAR) 架构的八通道、2MSPS/通道同步采样数据采集 (DAQ)系统。ADS9813 的道密度支持更多 PMU 单元并行运行,从而减少测试时间和成本。ADS9813 能够在所有输入通道上同时对输入进行采样,当测量对顺序采样引起的输入通道间相位延迟敏感时,这点特别有用。
ADS9813 器件的完整集成模拟前端具有过压输入钳位、1MΩ 输入阻抗、独立的可增益 (PGA)、可编程低通 (LPF) 和 ADC 输入。该 ADC 还具有低漂移精密基准,并集成了一个输入缓冲器以用作外部基准。这些特性减小了 ATE 应用中的信号链尺寸,而缺少额外的外部元件降低了 PMU 输出和 ADC 输入之间的误差贡献。
设计示例
为 ATE 应用选择 ADC 时,请确定以下参数:

表 1. 设计目标参数
1. 测量精度
ADC 的测量精度可使用总体未调误差 (TUE) 进行计算。

完成系统级校准后,可以忽略偏移误差和增益误差,只需要考虑偏移热漂移和增益热漂移,如表 2 所示。为了减少热漂移误差,可以使用散热器来减少 PMU 和 ADC 的温度变化。

表 2.ADS9813 在各种工作条件下的测量精度
为了提,PMU 和 ADC 可以共享一个共同的基准电压,如图 1 所示。以此类比例方式配置基准电压可以消除基准漂移误差。
2.快速通道选择
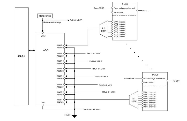
VI 卡的每个 PMU MVIx 输出均可连接到 ADC 通道,如图 1 所示。此外,该子系统可以使用将多个 PMU 输出连接到一个 ADC 通道。图 2 显示了一个示例,其中每个 PMU 均具有 8 个 MVIx 输出通道,这些通道经过多路复用并连接到一个 ADC 输入通道。这样可以为 VI 仪表卡实现更高的通道密度并降低成本。

图2.具有 8:1 PMU:ADC 通道数的 VI 卡
使用多路复用器时,ADC 的模拟输入带宽必须更高(如 图 2 所示),以便准确地捕获多路复用器输出切换时PMU 输出信号的变化。ADS9813 具有两种用户可选的模拟输入带宽:低噪声模式下的带宽高达 22.7kHz,宽带宽模式下的带宽高达 700kHz。高带宽模式使 ADS9813 能够对多路复用的 PMU 输出信号进行采样,因为该器件可在 7.5µs 中将信号阶跃稳定至满量程 (FS) 信号的 99.95%。在需要较少 PMU 输出测量的应用中,低噪声模式可以优化信号带宽与噪声性能,如表 3 所示。
表 3. 带宽模式与稳定时间和性能

图 3.ADS9813 低噪声和高带宽模式的稳定响应
3.同步系统中的多个器件
当使用多个 ADS9813 器件同时对数据进行采样时,可以共享采样以提供对所有 PMU 输出的同步采集,如图 4 所示。同时,每个单独 ADS9813 的数据输出和数据时钟必须一起路由到专用 输入,以并行读取所有器件的数据。

图 4. 具有 FPGA 的源同步高速数据
上一篇:从产线到实验室:LCR测试仪破解阻抗测试三大现实难题
下一篇:暂无
- 德州仪器推出高性能隔离式电源模块,助力数据中心和电动汽车提高功率密度
- TI 携手 NVIDIA 推出面向下一代 AI 数据中心的完整 800V DC 电源架构
- 德州仪器 (TI) 扩展微控制器产品组合及软件生态系统,助力边缘 AI 在各种器件中落地
- 德州仪器助推人形机器人实现规模化应用
- 德州仪器 (TI) 携手英伟达 (NVIDIA),加速下一代物理 AI 落地
- 恩智浦/瑞萨/TI集体出手!中央计算架构,开启车载芯片终极决战
- 新品!高能效,低功耗,TI AM62L经典再进化
- 德州仪器 2025 年数据中心收入同比增长 64%,占整体营收近一成
- 德州仪器三重突破,加速自动驾驶变革
- CES2026|德州仪器的汽车方案




