首页 > 器件类别 > 存储 > 存储
 PDF数据手册

MSM514170ASL-80ZS

描述:
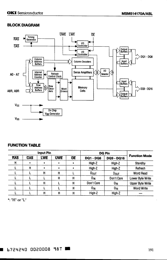
Fast Page DRAM, 256KX16, 80ns, CMOS, PZIP40,
分类:
存储    存储   
文件大小:
390KB,共8页
制造商:
概述
Fast Page DRAM, 256KX16, 80ns, CMOS, PZIP40,
器件参数
参数名称
属性值
是否Rohs认证
不符合
厂商名称
LAPIS Semiconductor Co Ltd
包装说明
ZIP, ZIP40,.1
Reach Compliance Code
unknown
最长访问时间
80 ns
I/O 类型
COMMON
JESD-30 代码
R-PZIP-T40
JESD-609代码
e0
内存密度
4194304 bit
内存集成电路类型
FAST PAGE DRAM
内存宽度
16
端子数量
40
字数
262144 words
字数代码
256000
最高工作温度
70 °C
最低工作温度
组织
256KX16
输出特性
3-STATE
封装主体材料
PLASTIC/EPOXY
封装代码
ZIP
封装等效代码
ZIP40,.1
封装形状
RECTANGULAR
封装形式
IN-LINE
电源
5 V
认证状态
Not Qualified
刷新周期
1024
自我刷新
YES
最大待机电流
0.0002 A
最大压摆率
0.105 mA
标称供电电压 (Vsup)
5 V
表面贴装
NO
技术
CMOS
温度等级
COMMERCIAL
端子面层
Tin/Lead (Sn/Pb)
端子形式
THROUGH-HOLE
端子节距
1.27 mm
端子位置
ZIG-ZAG
文档预览
参数对比
与MSM514170ASL-80ZS相近的元器件有:MSM514170A-10JS、MSM514170ASL-80JS、MSM514170ASL-10JS、MSM514170ASL-70ZS、MSM514170ASL-10ZS、MSM514170A-70JS。描述及对比如下:
型号 MSM514170ASL-80ZS MSM514170A-10JS MSM514170ASL-80JS MSM514170ASL-10JS MSM514170ASL-70ZS MSM514170ASL-10ZS MSM514170A-70JS
描述 Fast Page DRAM, 256KX16, 80ns, CMOS, PZIP40, Fast Page DRAM, 256KX16, 100ns, CMOS, PDSO40, Fast Page DRAM, 256KX16, 80ns, CMOS, PDSO40, Fast Page DRAM, 256KX16, 100ns, CMOS, PDSO40, Fast Page DRAM, 256KX16, 70ns, CMOS, PZIP40, Fast Page DRAM, 256KX16, 100ns, CMOS, PZIP40, Fast Page DRAM, 256KX16, 70ns, CMOS, PDSO40,
是否Rohs认证 不符合 不符合 不符合 不符合 不符合 不符合 不符合
包装说明 ZIP, ZIP40,.1 SOJ, SOJ40,.44 SOJ, SOJ40,.44 SOJ, SOJ40,.44 ZIP, ZIP40,.1 ZIP, ZIP40,.1 SOJ, SOJ40,.44
Reach Compliance Code unknown unknown unknown unknown unknown unknown unknow
最长访问时间 80 ns 100 ns 80 ns 100 ns 70 ns 100 ns 70 ns
I/O 类型 COMMON COMMON COMMON COMMON COMMON COMMON COMMON
JESD-30 代码 R-PZIP-T40 R-PDSO-J40 R-PDSO-J40 R-PDSO-J40 R-PZIP-T40 R-PZIP-T40 R-PDSO-J40
JESD-609代码 e0 e0 e0 e0 e0 e0 e0
内存密度 4194304 bit 4194304 bit 4194304 bit 4194304 bit 4194304 bit 4194304 bit 4194304 bi
内存集成电路类型 FAST PAGE DRAM FAST PAGE DRAM FAST PAGE DRAM FAST PAGE DRAM FAST PAGE DRAM FAST PAGE DRAM FAST PAGE DRAM
内存宽度 16 16 16 16 16 16 16
端子数量 40 40 40 40 40 40 40
字数 262144 words 262144 words 262144 words 262144 words 262144 words 262144 words 262144 words
字数代码 256000 256000 256000 256000 256000 256000 256000
最高工作温度 70 °C 70 °C 70 °C 70 °C 70 °C 70 °C 70 °C
组织 256KX16 256KX16 256KX16 256KX16 256KX16 256KX16 256KX16
输出特性 3-STATE 3-STATE 3-STATE 3-STATE 3-STATE 3-STATE 3-STATE
封装主体材料 PLASTIC/EPOXY PLASTIC/EPOXY PLASTIC/EPOXY PLASTIC/EPOXY PLASTIC/EPOXY PLASTIC/EPOXY PLASTIC/EPOXY
封装代码 ZIP SOJ SOJ SOJ ZIP ZIP SOJ
封装等效代码 ZIP40,.1 SOJ40,.44 SOJ40,.44 SOJ40,.44 ZIP40,.1 ZIP40,.1 SOJ40,.44
封装形状 RECTANGULAR RECTANGULAR RECTANGULAR RECTANGULAR RECTANGULAR RECTANGULAR RECTANGULAR
封装形式 IN-LINE SMALL OUTLINE SMALL OUTLINE SMALL OUTLINE IN-LINE IN-LINE SMALL OUTLINE
电源 5 V 5 V 5 V 5 V 5 V 5 V 5 V
认证状态 Not Qualified Not Qualified Not Qualified Not Qualified Not Qualified Not Qualified Not Qualified
刷新周期 1024 1024 1024 1024 1024 1024 1024
自我刷新 YES NO YES YES YES YES NO
最大待机电流 0.0002 A 0.001 A 0.0002 A 0.0002 A 0.0002 A 0.0002 A 0.001 A
最大压摆率 0.105 mA 0.09 mA 0.105 mA 0.09 mA 0.12 mA 0.09 mA 0.12 mA
标称供电电压 (Vsup) 5 V 5 V 5 V 5 V 5 V 5 V 5 V
表面贴装 NO YES YES YES NO NO YES
技术 CMOS CMOS CMOS CMOS CMOS CMOS CMOS
温度等级 COMMERCIAL COMMERCIAL COMMERCIAL COMMERCIAL COMMERCIAL COMMERCIAL COMMERCIAL
端子面层 Tin/Lead (Sn/Pb) Tin/Lead (Sn/Pb) Tin/Lead (Sn/Pb) Tin/Lead (Sn/Pb) Tin/Lead (Sn/Pb) Tin/Lead (Sn/Pb) Tin/Lead (Sn/Pb)
端子形式 THROUGH-HOLE J BEND J BEND J BEND THROUGH-HOLE THROUGH-HOLE J BEND
端子节距 1.27 mm 1.27 mm 1.27 mm 1.27 mm 1.27 mm 1.27 mm 1.27 mm
端子位置 ZIG-ZAG DUAL DUAL DUAL ZIG-ZAG ZIG-ZAG DUAL
厂商名称 LAPIS Semiconductor Co Ltd - - LAPIS Semiconductor Co Ltd LAPIS Semiconductor Co Ltd LAPIS Semiconductor Co Ltd LAPIS Semiconductor Co Ltd
实用小型稳压电源制作
市场上有许多可调的整流电源,可输出 3-12V 的电压。但这类电源大多工艺粗糙,存在许多问题。我们...
fighting 电源技术
Wilkinson合成器浅析及其应用
摘 要:全固态大功率发射机中必须采用具有隔离作用的功率合成技术,将中小功放的输出功率合成额定的输 出...
JasonYoo 模拟电子
PIC单片机16F84的内部硬件资源(五)
PIC 单片机 16F 84 的内部硬件资源(五) PIC单片机16F84的内部硬件资源(...
rain Microchip MCU
运放的共模电压超过说明书的参考共模电压会怎么样?
现在是一个共模电压额定4V的运放,单电源3.3V供电,用于检测逆变器下桥低值电阻采集的电流,问题是...
乱世煮酒论天下 模拟电子
变压器相关电路求助
如图,P1火线出来后,为什么要接地?这样后续电路岂不是没用了吗? 变压器相关电路求助 【...
tangbaoovo 电路观察室
对于三相全桥逆变半桥电流检测电路电流波形是什么样的?
对于三相全桥逆变电路,有在输出端检测输出电流的检测方式,因为输出电流近似为正弦波,所谓这种检测方式...
乱世煮酒论天下 电机控制
热门器件
热门资源推荐
器件捷径:
00 01 02 03 04 05 06 07 08 09 0A 0C 0F 0J 0L 0M 0R 0S 0T 0Z 10 11 12 13 14 15 16 17 18 19 1A 1B 1C 1D 1E 1F 1H 1K 1M 1N 1P 1S 1T 1V 1X 1Z 20 21 22 23 24 25 26 27 28 29 2A 2B 2C 2D 2E 2F 2G 2K 2M 2N 2P 2Q 2R 2S 2T 2W 2Z 30 31 32 33 34 35 36 37 38 39 3A 3B 3C 3D 3E 3F 3G 3H 3J 3K 3L 3M 3N 3P 3R 3S 3T 3V 40 41 42 43 44 45 46 47 48 49 4A 4B 4C 4D 4M 4N 4P 4S 4T 50 51 52 53 54 55 56 57 58 59 5A 5B 5C 5E 5G 5H 5K 5M 5N 5P 5S 5T 5V 60 61 62 63 64 65 66 67 68 69 6A 6C 6E 6F 6M 6N 6P 6R 6S 6T 70 71 72 73 74 75 76 77 78 79 7A 7B 7C 7M 7N 7P 7Q 7V 7W 7X 80 81 82 83 84 85 86 87 88 89 8A 8D 8E 8L 8N 8P 8S 8T 8W 8Y 8Z 90 91 92 93 94 95 96 97 98 99 9A 9B 9C 9D 9F 9G 9H 9L 9S 9T 9W
索引文件:
1739  694  2808  101  516  36  14  57  3  11 
需要登录后才可以下载。
登录取消
下载 PDF 文件