历史上的今天
今天是:2025年01月02日(星期四)
2019年01月02日 | 大批专利浮出水面 微软将打造史上最酷炫可穿戴设备
2019-01-02 来源:腾讯
据悉,最近微软可能正在开发一款功能强大的可穿戴设备,这款可穿戴设备将主要用于其混合现实(MR)系列产品,这款产品基于最新获得批准的专利文件。世界知识产权组织(WIPO)公布的文件中并没有透露这款产品的具体信息,只是提到了可穿戴设备的冷却系统。这款可穿戴设备将通过嵌入可穿戴设备外壳内的组件捕捉多余的热量,并通过设备的某个部分迅速消散,不一定是外壳本身的一部分。

是HoloLens还是别的什么?
听描述这项专利似乎比较像一款更新更强大的微软HoloLens,因为目前版本的微软HoloLens还至于需要那么强大的冷却系统。最近有消息透露,一款性能更强大的微软HoloLens即将问世,据说微软将混合现实视为技术市场的必须把握住的一块。与最初的头戴式可穿戴设备相比,这款新设备在几乎所有方面都做了出改进。
头戴式可穿戴设备配备了一个定制的内部全息处理单元(HPU),基于英特尔32位架构,配有2GB RAM和64GB存储空间。对于第一代设备来说,一块电池大概续航2到3小时,AR功能由一台200万像素的摄像头支持,整个设备重579克。但是即使做了相当大的改进,也不一定需要新的冷却系统,而且专利提供的相关图像似乎也暗示这可能不会是下一代HoloLens。
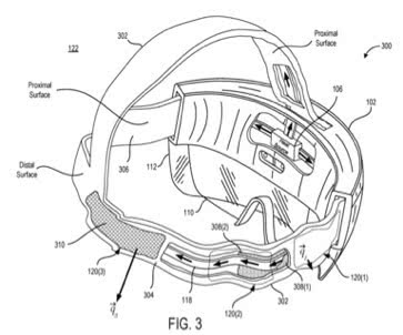
根据新专利显示,冷却系统将移动到耳机的背面或外部边缘,下面的图像显示了三种不同的设计。其中包括一款看起来像是太阳镜的可穿戴设备、一个遮阳板,以及一款看起来像传统VR头显的设备。这几张图上都可以看到,散热部分一般都在边缘的外部。




正如专利文献中所描述的,在风扇设计中,热能实际上也会通过佩戴者未触及的部位的外边缘以可控的方式散出去。目前还不清楚微软将这种新技术商业化还有要多久,因为这种想法并不是微软目前在可穿戴设备领域的唯一研发方向,本月早些时候,有消息称微软正在考虑研发一种AR解决方案。
高热(通常)意味着高性能
专利展示了三款设计样式,这可能意味着微软将发布几款新设备。如果是这样的话,每一款都可能具有不同的性能和用途。图中的这款太阳镜风格设计与HoloLens最为相似,而且具有最简单的散热方式,但其他两款设计在外观上更接近于VR头显。
史海拾趣
|
一份电子工程师常用网站 电子设计技术网: http://www.edn china.com 这个网站的各种资源较全面,其BLOG比较好使.只是有点慢. http://www.21 IC.COM 老牌的电子网站,内容多. 电子工程专辑: ht ...… 查看全部问答> |
|
硬件电路设计(4*4矩阵式键盘及其接口设计、键输入电路) 软件设计(键扫描、去抖动、键识别及处理程序) 主要技术指标: 1、键盘包括0-9数字键、“确认”、“取消”、“∧”和“∨”键等功能键 2、A/D转换器采用16位高精度、低功耗串行A/D转换 ...… 查看全部问答> |
|
FPGA入门学习心得 刚开始接触的时候,认为很简单,不就是写写代码就okey了吗?所以混混谔谔地度过了3个月,因为刚开始的时候接触的时比较简单的算法,所以对设计的时序和性能要求不是很高,写写代码完全就可以了,所以从来没有关心底层的东西(底 ...… 查看全部问答> |
|
xp系统,先前在vwmare6.5里装了redhat9,桥接方式,一切正常 之后在提示下装了tools,问题就来了,单机下xp和linux无法连接通信了 linux里:ping127.0.0.1正常,ping192.168.1.241正常 xp里:ping127.0.0.1正常,ping192.168.1.240不通 但是接 ...… 查看全部问答> |
|
看书遇到了几个问题怎么也搞不懂,求助于各位大大们了!!! 第一个是关于最大延时的计算! (6MHz晶振频率) MOV R5,#TIME1 LOOP2:MOV R4,#TIME2 LOOP1:NOP NOP & ...… 查看全部问答> |
|
单片机控制机械手臂的设计与制作.这个进栈push A 与 出栈 pop A 为何不相匹配? 在keil 中老是说表达类型不匹配指示?请指点! 单片机控制的伺服电机原程序如下: ORG 00H SJMP MAIN ORG 0008H L ...… 查看全部问答> |
|
被折磨了五天,终于调通了,今天共享,希望有同样经历的可以少走弯路。(还有个问题是发送多个字节的数据,智能读出第一个字节,可能是SPI出问题了吧,希望有解决者指教)一共三个text文件,分别是发送测试、发送、接收,都已在自己的开发板上测试 ...… 查看全部问答> |
|
MSP430F5438A的最小系统,XT1外接32.768K,XT2外接25M晶振。现想用ACLK=XT1,MCLK=SMCLK=XT2。 请教,5438A的datasheet里面说是可以外接25M的,但是具体设置应该是如何?… 查看全部问答> |




