历史上的今天
今天是:2024年09月28日(星期六)
2019年09月28日 | 再造STM32---第十四部分:STM32 中断应用概览
2019-09-28 来源:eefocus
本章参考资料《STM32F4xx 中文参考手册》第十章-中断和事件、《ARM Cortex™-M4F 技术参考手册》 -4.3 章节: NVIC 和 4.4 章节: SCB—4.4.5 的 AIRCR。STM32 中断非常强大,每个外设都可以产生中断,所以中断的讲解放在哪一个外设里面去讲都不合适,这里单独抽出一章来做一个总结性的介绍,这样在其他章节涉及到中断部分的知识我们就不用费很大的篇幅去讲解,只要示意性带过即可。
本章如无特别说明,异常就是中断,中断就是异常,请不要刻意钻牛角尖较劲。
14.1 异常类型:
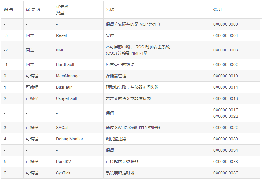
F429 在内核水平上搭载了一个异常响应系统, 支持为数众多的系统异常和外部中断。其中系统异常有 10 个,外部中断有 91 个。除了个别异常的优先级被定死外,其它异常的优先级都是可编程的。有关具体的系统异常和外部中断可在标准库文件 stm32f4xx.h 这个头文件查询到,在 IRQn_Type 这个结构体里面包含了 F4 系列全部的异常声明。
表格 12 F429 系统异常清单

表格 13 F429 外部中断清单

14.2 NVIC 简介:
在讲如何配置中断优先级之前,我们需要先了解下 NVIC。 NVIC 是嵌套向量中断控制器,控制着整个芯片中断相关的功能,它跟内核紧密耦合,是内核里面的一个外设。但是各个芯片厂商在设计芯片的时候会对 Cortex-M4 内核里面的 NVIC 进行裁剪,把不需要的部分去掉,所以说 STM32 的 NVIC 是 Cortex-M4 的 NVIC 的一个子集。
14.2.1 NVIC 寄存器简介:
在固件库中, NVIC 的结构体定义可谓是颇有远虑,给每个寄存器都预览了很多位,恐怕为的是日后扩展功能。不过 STM32F429 可用不了这么多,只是用了部分而已,具体使用了多少可参考《ARM Cortex™-M4F 技术参考手册》 -4.3.11:NVIC 寄存器映射。
代码 17 NVIC 结构体定义,来自固件库头文件: core_cm4.h
typedef struct {
__IO uint32_t ISER[8]; // 中断使能寄存器
uint32_t RESERVED0[24];
__IO uint32_t ICER[8]; // 中断清除寄存器
uint32_t RSERVED1[24];
__IO uint32_t ISPR[8]; // 中断使能悬起寄存器
uint32_t RESERVED2[24];
__IO uint32_t ICPR[8]; // 中断清除悬起寄存器
uint32_t RESERVED3[24];
__IO uint32_t IABR[8]; // 中断有效位寄存器
uint32_t RESERVED4[56];
__IO uint8_t IP[240]; // 中断优先级寄存器(8Bit wide)
uint32_t RESERVED5[644];
__O uint32_t STIR; // 软件触发中断寄存器
} NVIC_Type;
在配置中断的时候我们一般只用 ISER、 ICER 和 IP 这三个寄存器, ISER 用来使能中断, ICER 用来失能中断, IP 用来设置中断优先级。
14.2.2 NVIC 中断配置固件库:
固件库文件 core_cm4.h 的最后,还提供了 NVIC 的一些函数,这些函数遵循 CMSI 规则,只要是 Cortex-M4 的处理器都可以使用,具体如下:
表格 14 符合 CMSIS 标准的 NVIC 库函数

这些库函数我们在编程的时候用的都比较少,甚至基本都不用。在配置中断的时候我们还有更简洁的方法,请看中断编程小节。
14.3 优先级的定义:
14.3.1 优先级定义:
在 NVIC 有一个专门的寄存器:中断优先级寄存器 NVIC_IPRx(在 F429 中, x=0...90)用来配置外部中断的优先级, IPR 宽度为 8bit,原则上每个外部中断可配置的优先级为0~255,数值越小,优先级越高。但是绝大多数 CM4 芯片都会精简设计,以致实际上支持的优先级数减少,在 F429 中,只使用了高 4bit,如下所示:
表格 15 F429 使用 4bit 表达优先级

用于表达优先级的这 4bit,又被分组成抢占优先级和子优先级。如果有多个中断同时响应,抢占优先级高的就会 抢占 抢占优先级低的优先得到执行,如果抢占优先级相同,就比较子优先级。如果抢占优先级和子优先级都相同的话,就比较他们的硬件中断编号,编号越小,优先级越高。
14.3.2 优先级分组:
优先级的分组由内核外设 SCB 的应用程序中断及复位控制寄存器 AIRCR 的PRIGROUP[10:8]位决定, F429 分为了 5 组,具体如下:主优先级=抢占优先级

设置优先级分组可调用库函数 NVIC_PriorityGroupConfig()实现,有关 NVIC 中断相关的库函数都在库文件 misc.c 和 misc.h 中。
代码 18 中断优先级分组库函数
/**
* 配置中断优先级分组:抢占优先级和子优先级
* 形参如下:
* @arg NVIC_PriorityGroup_0: 0bit for 抢占优先级
* 4 bits for 子优先级
* @arg NVIC_PriorityGroup_1: 1 bit for 抢占优先级
* 3 bits for 子优先级
* @arg NVIC_PriorityGroup_2: 2 bit for 抢占优先级
* 2 bits for 子优先级
* @arg NVIC_PriorityGroup_3: 3 bit for 抢占优先级
* 1 bits for 子优先级
* @arg NVIC_PriorityGroup_4: 4 bit for 抢占优先级
* 0 bits for 子优先级
* @注意 如果优先级分组为 0,则抢占优先级就不存在,优先级就全部由子优先级控制
*/
void NVIC_PriorityGroupConfig(uint32_t NVIC_PriorityGroup)
{
// 设置优先级分组
SCB->AIRCR = AIRCR_VECTKEY_MASK | NVIC_PriorityGroup;
}
表格 16 优先级分组真值表

14.4 中断编程:
在配置每个中断的时候一般有 3 个编程要点:
1、 使能外设某个中断,这个具体由每个外设的相关中断使能位控制。比如串口有发送完成中断,接收完成中断,这两个中断都由串口控制寄存器的相关中断使能位控制。
2、 初始化 NVIC_InitTypeDef 结构体,配置中断优先级分组,设置抢占优先级和子优先级,使能中断请求。
代码 19 NVIC 初始化结构体
typedef struct {
uint8_t NVIC_IRQChannel; // 中断源
uint8_t NVIC_IRQChannelPreemptionPriority; // 抢占优先级
uint8_t NVIC_IRQChannelSubPriority; // 子优先级
FunctionalState NVIC_IRQChannelCmd; // 中断使能或者失能
} NVIC_InitTypeDef;
有关 NVIC 初始化结构体的成员我们一一解释下:
1) NVIC_IROChannel:用来设置中断源,不同的中断中断源不一样,且不可写错,即使写错了程序不会报错,只会导致不想要中断。具体的成员配置可参考 stm32f4xx.h 头文件里面的 IRQn_Type 结构体定义,这个结构体包含了所有的中断源。
代码 20 IRQn_Type 中断源结构体
typedef enum IRQn {
//Cortex-M4 处理器异常编号
NonMaskableInt_IRQn = -14,
MemoryManagement_IRQn = -12,
BusFault_IRQn = -11,
UsageFault_IRQn = -10,
SVCall_IRQn = -5,
DebugMonitor_IRQn = -4,
PendSV_IRQn = -2,
SysTick_IRQn = -1,
//STM32 外部中断编号
WWDG_IRQn = 0,
PVD_IRQn = 1,
TAMP_STAMP_IRQn = 2,
// 限于篇幅,中间部分代码省略,具体的可查看库文件 stm32f4xx.h
SPI4_IRQn = 84,
SPI5_IRQn = 85,
SPI6_IRQn = 86,
SAI1_IRQn = 87,
LTDC_IRQn = 88,
LTDC_ER_IRQn = 89,
DMA2D_IRQn = 90
} IRQn_Type;
2) NVIC_IRQChannelPreemptionPriority:抢占优先级,具体的值要根据优先级分组来
确定,具体参考表格 16 优先级分组真值表 。
3) NVIC_IRQChannelSubPriority:子优先级,具体的值要根据优先级分组来确定,具
体参考表格 16 优先级分组真值表 。
4) NVIC_IRQChannelCmd:中断使能(ENABLE)或者失能(DISABLE)。操作的
是 NVIC_ISER 和 NVIC_ICER 这两个寄存器。
3、 编写中断服务函数
在启动文件 startup_stm32f429_439xx.s 中我们预先为每个中断都写了一个中断服务函数,只是这些中断函数都是为空,为的只是初始化中断向量表。实际的中断服务函数都需要我们重新编写,中断服务函数我们统一写在 stm32f4xx_it.c 这个库文件中。关于中断服务函数的函数名必须跟启动文件里面预先设置的一样,如果写错,系统就在中断向量表中找不到中断服务函数的入口,直接跳转到启动文件里面预先写好的空函数,并且在里面无限循环,实现不了中断。
14.5 总结:
1、中断类型:
1、系统异常,体现在内核水平
2、外部中断,体现在外设水平
2、NVIC简介:
NVIC:嵌套向量中断控制器,属于内核外设,管理着包括内核和片上所有外设的中断相关的功能。
两个重要的库文件: core_cm4.h和misc.h
3、NVIC寄存器:
NVIC寄存器简介, core_cm4.h定义

4、中断优先级定义:
优先级设定: NVIC->IPRx

优先级分组: SCB->AIRCR:PRIGROUP[10:8]
5、中断的编程顺序:
1-使能中断请求
2-配置中断优先级分组
3-配置NVIC寄存器,初始化NVIC_InitTypeDef;
4-编写中断服务函数
6、NVIC_InitTypeDef:
1-NVIC_IRQChannel:中断源
2-NVIC_IRQChannelPreemptionPriority:抢占优先级
3-NVIC_IRQChannelSubPriority:子优先级
4-NVIC_IRQChannelCmd:使能或者失能
7、EXTI功能框图:

8、编程要点:
史海拾趣
|
摘要:介绍定电压电子负载的原理及用于智能电池充电器性能测试的研究,认为定电压电子负 载是研制智能电池充电器不可缺少的测试仪器。… 查看全部问答> |
|
压缩包中有两个手册,是WORD文档格式,很适合于读者复制、编写相关资料,一本是“PROTEL 99 SE特性手册.doc”,另一本是“PROTEL 99SE 简明使用手册.doc”… 查看全部问答> |
|
比如把我的gprs modem 和开发版接起来,在开发版上进行ppp拨号,这时候建立ppp的两端是指 “开发版 和 基站” 还是 “开发版 和 猫” 或者 “猫 &nb ...… 查看全部问答> |
|
烧写片外flash,用Jlink还是ulink??笔记本开发Embed 最近在家用笔记本移植uclinux,在公司都是用通过 H-JTAG把bin文件烧写到片外Nor Flash了,直接用HJTAG的HFlasher工具 很方便。用自己做的HJTAG的wingger小板,现在在家用笔记本,没有并口,大概了解要使用jlink、或ulink,在HJTAG的 ...… 查看全部问答> |
|
我配置S3C2410的LCD控制器,点亮了LCD屏,但是画面存在错位。我的屏是320*240,TFT 屏的偏左侧有一道1.5cm宽的黑色条块,然后才是WinCE的桌面,然后屏的最左侧是原本应该在最右侧的图像。大概和下面的标注一样: 12 ...… 查看全部问答> |
|
wince下用c#开发pda里的mp3播放程序,代码是怎么写的,好象没有winmm.dll是吧。 wince下好象是没有winmm.dll的是吧。 谁知道哪里有这些资料的,谢谢了。会及时揭贴的。希望发一些好的资料给我参考下。 以前没怎么做过pda下的程序。… 查看全部问答> |
|
我有一个evc工程,以前编译,连接是通过的,现在我换了一个sdk,然后就报unresolved external symbol _X509_LOOKUP_ctrl referenced in function in function \"int __cdecl pkcs11_verify_prepare(struct x509_store_ ...… 查看全部问答> |
|
一个单片机应用系统的硬件电路设计包含两部分内容:一是系统扩展,即单片机内部的功能单元,如ROM、RAM、I/O、定时器/计数器、中断系统等不能满足应用系统的要求时,必须在片外进行扩展,选择适当的芯片,设计相应的电路。二是系统的配置,即按照系 ...… 查看全部问答> |





