历史上的今天
今天是:2024年09月28日(星期六)
2019年09月28日 | 再造STM32---第十二部分:启动文件详解
2019-09-28 来源:eefocus
本章参考资料《STM32F4xx 中文参考手册》第十章-中断和事件:表 46.STM32F42xxx 和 STM32F43xxx 的向量表; MDK 中的帮助手册—ARM Development Tools:用来查询 ARM 的汇编指令和编译器相关的指令。
12.1 启动文件简介:
启动文件由汇编编写,是系统上电复位后第一个执行的程序。主要做了以下工作:
1、 初始化堆栈指针 SP=_initial_sp
2、 初始化 PC 指针=Reset_Handler
3、 初始化中断向量表
4、 配置系统时钟
5、 调用 C 库函数_main 初始化用户堆栈,从而最终调用 main 函数去到 C 的世界
12.2 查找 ARM 汇编指令:
在讲解启动代码的时候,会涉及到 ARM 的汇编指令和 Cortex 内核的指令,有关Cortex 内核的指令我们可以参考《CM3 权威指南 CnR2》第四章:指令集。剩下的 ARM 的汇编指令我们可以在 MDK->Help->Uvision Help 中搜索到,以 EQU 为例,检索如下:

检索出来的结果会有很多,我们只需要看 Assembler User Guide 这部分即可。下面列出了启动文件中使用到的 ARM 汇编指令,该列表的指令全部从 ARM Development Tools这个帮助文档里面检索而来。其中编译器相关的指令 WEAK 和 ALIGN 为了方便也放在同一个表格了。
表格 10 启动文件使用的 ARM 汇编指令汇总

12.3 启动文件代码讲解:
1. Stack—栈:
Stack_Size EQU 0x00000400
AREA STACK, NOINIT, READWRITE, ALIGN=3
Stack_Mem SPACE Stack_Size
__initial_sp
开辟栈的大小为 0X00000400(1KB),名字为 STACK, NOINIT 即不初始化,可读可写, 8(2^3)字节对齐。
栈的作用是用于局部变量,函数调用,函数形参等的开销,栈的大小不能超过内部SRAM 的大小。如果编写的程序比较大,定义的局部变量很多,那么就需要修改栈的大小。如果某一天,你写的程序出现了莫名奇怪的错误,并进入了硬 fault 的时候,这时你就要考虑下是不是栈不够大,溢出了。
EQU:宏定义的伪指令,相当于等于,类似与 C 中的 define。
AREA:告诉汇编器汇编一个新的代码段或者数据段。 STACK 表示段名,这个可以任意命名; NOINIT 表示不初始化;READWRITE 表示可读可写, ALIGN=3,表示按照 2^3对齐,即 8 字节对齐。
SPACE:用于分配一定大小的内存空间,单位为字节。这里指定大小等于 Stack_Size。
标号__initial_sp 紧挨着 SPACE 语句放置,表示栈的结束地址,即栈顶地址,栈是由高向低生长的。
2. Heap 堆:
Heap_Size EQU 0x00000200
AREA HEAP, NOINIT, READWRITE, ALIGN=3
__heap_base
Heap_Mem SPACE Heap_Size
__heap_limit
开辟堆的大小为 0X00000200(512 字节),名字为 HEAP, NOINIT 即不初始化,可读可写, 8(2^3)字节对齐。 __heap_base 表示对的起始地址, __heap_limit 表示堆的结束地址。堆是由低向高生长的,跟栈的生长方向相反。
堆主要用来动态内存的分配,像 malloc()函数申请的内存就在堆上面。这个在 STM32里面用的比较少。
PRESERVE8
THUMB
PRESERVE8: 指定当前文件的堆栈按照 8 字节对齐。
THUMB: 表示后面指令兼容 THUMB 指令。 THUBM 是 ARM 以前的指令集, 16bit,现在 Cortex-M 系列的都使用 THUMB-2 指令集, THUMB-2 是 32 位的,兼容 16 位和 32 位的指令,是 THUMB 的超级。
3. 向量表:
AREA RESET, DATA, READONLY
EXPORT __Vectors
EXPORT __Vectors_End
EXPORT __Vectors_Size
定义一个数据段,名字为 RESET,可读。并声明 __Vectors、 __Vectors_End 和Vectors_Size 这三个标号具有全局属性,可供外部的文件调用。
EXPORT: 声明一个标号可被外部的文件使用,使标号具有全局属性。如果是 IAR 编译器,则使用的是 GLOBAL 这个指令。
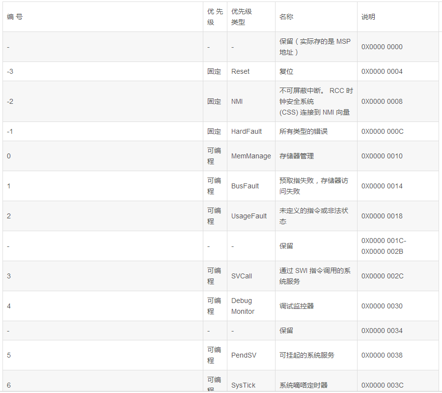
当内核响应了一个发生的异常后,对应的异常服务例程(ESR)就会执行。为了决定 ESR的入口地址, 内核使用了―向量表查表机制‖。这里使用一张向量表。向量表其实是一个WORD(32 位整数)数组,每个下标对应一种异常,该下标元素的值则是该 ESR 的入口地址。向量表在地址空间中的位置是可以设置的,通过 NVIC 中的一个重定位寄存器来指出向量表的地址。在复位后,该寄存器的值为 0。因此,在地址 0 (即 FLASH 地址 0) 处必须包含一张向量表,用于初始时的异常分配。要注意的是这里有个另类: 0 号类型并不是什么入口地址,而是给出了复位后 MSP 的初值。
表格 11 F429 向量表


代码 12 向量表
__Vectors DCD __initial_sp ;栈顶地址
DCD Reset_Handler ;复位程序地址
DCD NMI_Handler
DCD HardFault_Handler
DCD MemManage_Handler
DCD BusFault_Handler
DCD UsageFault_Handler
DCD 0 ; 0 表示保留
DCD 0
DCD 0
DCD 0
DCD SVC_Handler
DCD DebugMon_Handler
DCD 0
DCD PendSV_Handler
DCD SysTick_Handler
;外部中断开始
DCD WWDG_IRQHandler
DCD PVD_IRQHandler
DCD TAMP_STAMP_IRQHandler
;限于篇幅,中间代码省略
DCD LTDC_IRQHandler
DCD LTDC_ER_IRQHandler
DCD DMA2D_IRQHandler
__Vectors_End
__Vectors_Size EQU __Vectors_End - __Vectors
__Vectors 为向量表起始地址, __Vectors_End 为向量表结束地址,两个相减即可算出向量表大小。
向量表从 FLASH 的 0 地址开始放置,以 4 个字节为一个单位,地址 0 存放的是栈顶地址, 0X04 存放的是复位程序的地址,以此类推。从代码上看,向量表中存放的都是中断服务函数的函数名,可我们知道 C 语言中的函数名就是一个地址。
DCD:分配一个或者多个以字为单位的内存,以四字节对齐,并要求初始化这些内存。在向量表中, DCD 分配了一堆内存,并且以 ESR 的入口地址初始化它们。
4. 复位程序:
AREA |.text|, CODE, READONLY
定义一个名称为.text 的代码段,可读。
Reset_Handler PROC
EXPORT Reset_Handler [WEAK]
IMPORT SystemInit
IMPORT __main
LDR R0, =SystemInit
BLX R0
LDR R0, =__main
BX R0
ENDP
复位子程序是系统上电后第一个执行的程序,调用 SystemInit 函数初始化系统时钟,然后调用 C 库函数_mian,最终调用 main 函数去到 C 的世界。
WEAK:表示弱定义,如果外部文件优先定义了该标号则首先引用该标号,如果外部文件没有声明也不会出错。这里表示复位子程序可以由用户在其他文件重新实现,这里并不是唯一的。
IMPORT:表示该标号来自外部文件,跟 C 语言中的 EXTERN 关键字类似。这里表示 SystemInit 和__main 这两个函数均来自外部的文件。
SystemInit()是一个标准的库函数,在 system_stm32f4xx.c 这个库文件总定义。主要作用是配置系统时钟,这里调用这个函数之后, F429 的系统时钟配被配置为 180M。
__main 是一个标准的 C 库函数,主要作用是初始化用户堆栈,最终调用 main 函数去到 C 的世界。这就是为什么我们写的程序都有一个 main 函数的原因。如果我们在这里不调用__main,那么程序最终就不会调用我们 C 文件里面的 main,如果是调皮的用户就可以修改主函数的名称,然后在这里面 IMPORT 你写的主函数名称即可。
Reset_Handler PROC
EXPORT Reset_Handler [WEAK]
IMPORT SystemInit
IMPORT user_main
LDR R0, =SystemInit
BLX R0
LDR R0, =user_main
BX R0
ENDP
这个时候你在 C 文件里面写的主函数名称就不是 main 了,而是 user_main 了。
LDR、 BLX、 BX 是 CM4 内核的指令,可在《CM3 权威指南 CnR2》第四章-指令集里面查询到,具体作用见下表:

5. 中断服务程序:
在启动文件里面已经帮我们写好所有中断的中断服务函数,跟我们平时写的中断服务函数不一样的就是这些函数都是空的,真正的中断复服务程序需要我们在外部的 C 文件里面重新实现,这里只是提前占了一个位置而已。
如果我们在使用某个外设的时候,开启了某个中断,但是又忘记编写配套的中断服务程序或者函数名写错,那当中断来临的时,程序就会跳转到启动文件预先写好的空的中断服务程序中,并且在这个空函数中无线循环,即程序就死在这里。
NMI_Handler PROC ;系统异常
EXPORT NMI_Handler [WEAK]
B .
ENDP
;限于篇幅,中间代码省略
SysTick_Handler PROC
EXPORT SysTick_Handler [WEAK]
B .
ENDP
Default_Handler PROC ;外部中断
EXPORT WWDG_IRQHandler [WEAK]
EXPORT PVD_IRQHandler [WEAK]
EXPORT TAMP_STAMP_IRQHandler [WEAK]
;限于篇幅,中间代码省略
LTDC_IRQHandler
LTDC_ER_IRQHandler
DMA2D_IRQHandler
B .
ENDP
B:跳转到一个标号。这里跳转到一个‘.’,即表示无线循环。
6. 用户堆栈初始化:
ALIGN
ALIGN:对指令或者数据存放的地址进行对齐,后面会跟一个立即数。缺省表示 4 字节对齐。
;用户栈和堆初始化
IF :DEF:__MICROLIB
EXPORT __initial_sp
EXPORT __heap_base
EXPORT __heap_limit
ELSE
IMPORT __use_two_region_memory
EXPORT __user_initial_stackheap
__user_initial_stackheap
LDR R0, = Heap_Mem
LDR R1, =(Stack_Mem + Stack_Size)
LDR R2, = (Heap_Mem + Heap_Size)
LDR R3, = Stack_Mem
BX LR
ALIGN
ENDIF
END
判断是否定义了__MICROLIB ,如果定义了则赋予标号__initial_sp(栈顶地址)、__heap_base(堆起始地址)、 __heap_limit(堆结束地址)全局属性,可供外部文件调用。如果没有定义(实际的情况就是我们没定义__MICROLIB)则使用默认的 C 库,然后初始化用户堆栈大小,这部分有 C 库函数__main 来完成,当初始化完堆栈之后,就调用 main函数去到 C 的世界。
IF,ELSE,ENDIF:汇编的条件分支语句,跟 C 语言的 if ,else 类似
END:文件结束
12.4 系统启动流程:
下面这段话引用自《CM3 权威指南 CnR2》 3.8—复位序列, CM4 的复位序列跟 CM3 一样。
在离开复位状态后, CM3 做的第一件事就是读取下列两个 32 位整数的值:
1、 从地址 0x0000,0000 处取出 MSP 的初始值。
2、 从地址 0x0000,0004 处取出 PC 的初始值——这个值是复位向量, LSB 必须是1。 然后从这个值所对应的地址处取指。

请注意,这与传统的 ARM 架构不同——其实也和绝大多数的其它单片机不同。传统的 ARM 架构总是从 0 地址开始执行第一条指令。它们的 0 地址处总是一条跳转指令。 在CM3 中,在 0 地址处提供 MSP 的初始值,然后紧跟着就是向量表。 向量表中的数值是 32位的地址,而不是跳转指令。向量表的第一个条目指向复位后应执行的第一条指令,就是我们刚刚分析的 Reset_Handler 这个函数。

因为 CM3 使用的是向下生长的满栈,所以 MSP 的初始值必须是堆栈内存的末地址加1。举例 来说,如果我们的堆栈区域在 0x20007C00-0x20007FFF 之间,那么 MSP 的初始值就必须是 0x20008000。
向量表跟随在 MSP 的初始值之后——也就是第 2 个表目。要注意因为 CM3 是在Thumb 态下执行,所以向量表中的每个数值都必须把 LSB 置 1(也就是奇数)。正是因为这个原因, 图 12-3 中使用 0x101 来表达地址 0x100。当 0x100 处的指令得到执行后,就正式开始了程序的执行(即去到 C 的世界) 。在此之前初始化 MSP 是必需的,因为可能第 1条指令还没来得及执行,就发生了 NMI 或是其它 fault。 MSP 初始化好后就已经为它们的服务例程准备好了堆栈。
现在,程序就进入了我们熟悉的 C 世界,现在我们也应该明白 main 并不是系统执行的第一个程序了。
12.5 总结:
1、启动文件的讲解 — 开始
1-注释的讲解
2-程序的讲解
3-如何查找资料( ARM的汇编指令)
2、启动文件的作用
1-初始化堆栈指针SP
2-初始化PC指针,指向复位程序
3-初始化中断向量表
4-配置系统时钟
5-调用C库函数_main,最终进入C的世界
3、汇编程序如何注释
1-汇编注释用“;”
2-C语言注释用“//”戒者“/**/”
4、启动文件详解
① -Stack—栈
用于局部变量、函数调用、函数形参的开销

EQU: 宏定义的伪指令,相当于等于,类似与 C 中的 define
AREA:告诉汇编器汇编一个新的代码段戒者数据段
SPACE : 用于分配一定大小的内存空间,单位为字节
标号__initial_sp 紧挨着 SPACE 语句放置,表示栈的结束地址,即栈顶地址,栈是由高向低生长的。
② -Heap—堆
堆用于动态内存的分配, malloc函数

PRESERVE8: 指定当前文件的堆栈按照 8 字节对齐
THUMB: 表示后面指令为 THUMB 指令。 THUBM 是ARM 以前的指令集, 16bit,现在 Cortex-M 系列的都使用THUMB-2 指令集, THUMB-2 是 32 位的,兼容 16 位和 32位的指令,是 THUMB 的超级。
EXPORT: 声明一个标号具有全局属性,可被外部的文件使用。 如果是 IAR 编译器,则使用的是 GLOBAL 这个指令。
DCD: 分配一个戒者多个以字为单位的内存,以四字节对齐,并要求初始化这些内存。在向量表中, DCD 分配了一堆内存,并且以 ESR 的入口地址初始化它们。
③ -向量表
1-向量表实际上是一个32位的整型数组,一个元素对应一个异常( ESR),数组元素存的就是ESR的入口地址。
2-向量表在复位后从FLASH的0地址开始,具体的初始化值请查询参考手册的中断章节。

从代码上看,向量表中存放的都是中断服务函数的函数名,可我们知道 C语言中的函数名就是一个地址。
④ -复位程序
1-复位程序是上电后单片机执行的第一个程序
2-调用SystemInit函数配置系统时钟;调用C库函数_main,并最终进入C的世界

WEAK: 表示弱定义,如果外部文件优先定义了该标号则首先引用该标号,如果外部文件没有声明也不会出错。这里表示复位子程序可以由用户在其他文件重新实现,这里并不是唯一的。
IMPORT: 表示该标号来自外部文件,跟 C 语言中的EXTERN 关键字类似。这里表示 SystemInit 和__main 这两个函数均来自外部的文件。
Cortex内核的指令

⑤ -中断服务程序
1-启动文件为我们写好了全部的中断服务程序,函数的名称必须与向量表里面初始化的名称一样。
2-这些程序都是空的,需要我们在C文件里面重新实现。如果我们写的中断服务程序的函数名写错了,程序也不会报错,而是会进入一个死循环。

⑥ -用户堆栈初始化
由标准的C库函数_main来完成。
IF,ELSE,ENDIF: 汇编的条件分支语句,跟 C 语言的if ,else 类似。
END: 文件结束。
ALIGN: 对指令戒者数据存放的地址进行对齐,后面会跟一个立即数。缺省表示 4 字节对齐。
启动文件里面涉及到的ARM指令
史海拾趣
|
在单片机的开发中,软件的过程式开发(跟自顶向下的过程式语言有直接关系)是长久以来的软件开发方法,但不能否认的是,存在数十种为人所知和不知的 RTOS,甚至是开发人员自己动手构造一个简单的 RTOS 以提高工作效率和改善软件构建的复杂性,这也 ...… 查看全部问答> |
|
目录: 第一章:绪论 第二章:电路实验 第三章:电路的计算机辅助分析 第四章:电工测量与常用电工仪表的基本知识 第五章:常用仪器设备使用的基本知识 附录一:电路分析参考程序 附录二:计算机上机操作说明 详细信息: 书名:基本电路理 ...… 查看全部问答> |
|
用quartus2进行波形仿真时,打不开仿真后的波形文件,是什么原因? 程序编译综合都没问题,加载网表也没出错。仿真提示也是成功的,但是在information里可以看到说波形文件里有错导致打不开仿真后的波形图。波形文件怎么会有错呢?… 查看全部问答> |
|
各位大虾, 小弟需要一个将一个.dll文件打包安装到设备,同时修改注册表.我的.inf文件已经写好了,能正确生成.cab文件, 现在就是不知道怎么才能修改注册表,那位兄弟能指点以下?谢了。… 查看全部问答> |
|
www.kingofcoder.com 100MB 免費空間 + 100MB mysql 空間 www.kingofcoder.com 100MB 免費空間 + 100MB mysql 空間 大家快點來呀 JSP, PHP, oracle空間, 很快就會開通, 大家快點登記吧 http://www.kingofcoder.com匯集大量各種編程語言文章、提供免費asp、php、jsp空間、免費mysql、oracle數據庫空間 ...… 查看全部问答> |
|
MSK 4203PWM电机控制器/放大器 MSK 4203PWM电机控制器/放大器的特点: ★75V,10A的输出能力 ★自带高、低边驱动电路 ★内含死区保护和短路保护 ★与内部电路绝缘的外壳可直接安装散热器 ★四象限工作模式,力矩控制 ★符合MIL-PRF-38534的H级产品 ...… 查看全部问答> |
|
TI LM3S M3的供电共有4组:3.3V数字,用于I/O供电和内置LDO供电,一般标号为VDD,需要外置供电提供;1.8V,一般标号为VDDC,为内核和逻辑供电,一般由内置LDO提供,直接连接到LDO管脚。查看器件的Errata 表,有的M3的LDO有问题,不能稳定供电 ...… 查看全部问答> |




