历史上的今天
今天是:2025年02月15日(星期六)
2020年02月15日 | 板式固体电子流量计的原理及设计
2020-02-15 来源:elecfans
内容说明
本发明涉及电子流量计领域,具体地来说为一种在线测量自由落的松散固体物料的流量和累计量的板式固体电子流量计。
发明背景
固体流量计用于对流动的干燥散装物料如沙子等提供的连续在线承重测量,其原理是利用动量原理检测下落的块状、颗粒状和粉状等固体物料重量,现有的冲板式固体流量计采用运转部件,外来振动对测量的影响大,如果环境恶劣,物料在检测板上沾粘,对测量精度会有影响。
发明内容
针对现有技术中存在的上述不足之处,本实用新型要解决的问题在于提供一种测量精度高的板式固体电子流量计。

本发明采用如下的技术方案:
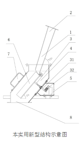
一种板式固体电子流量计,包括壳体、导流槽、检测板以及测力装置,其中检测板倾斜置于壳体内,检测板的上端铰接在转轴上,下端为自由端;导流槽设置于壳体的上端,与检测板相通,物料由导流槽切向流入检测板;测力装置置于检测板底面后侧,测力装置的力传递杆与检测板底面垂直,检测物料在检测板的重力,由物料在检测板的重力与传感器检测的正压力的关系式。
本发明的原理:物料以一定高度,一定倾角流入流量计检测板上,检测板为一端铰接的倾斜板,检测板后安装测力器,测力器的测力杆垂直于检测板,物料在一个稳定的装置中是以固定的速度流到检测板上的,电子计量中取恒速。由于导流槽的作用,物料近似于切向流入检测板,减少了对检测板的冲击力。物料在检测板的重力与传感器检测的正压力的关系式。
适合于在线测量自由落的松散固体物料的流量和累计量,计量精度高,动态计量精度一般为0 .5%,最高可达0 .25%,是取代冲板式固体流量计的理想产品;标定后可长期使用,抗干扰,维修量小,可用于工业配料,原材料计量,实现在线控制,广泛地应用在水泥、焦化、矿山、石油化工、港口运输、冶金、电厂、粮食等行业。
本实用新型结构简单,无运转部件,采用梁式力传感器,外置安装。检测板稳定性好,抗冲击性强,振动对检测影响较小,可在环境恶劣的条件下工作。物料沾粘在检测板上,对检测精度有一定影响,尽量不在沾粘性较强的物料上使用。设备占用空间小,1 .5M左右的空间即可安装。
上一篇:永磁式液态金属流量计的原理及设计
下一篇:活塞式流量计怎样测量
史海拾趣
|
我请EEWORLD全体成员吃饭!!! 联系方式: 联 系 人: 李 鹏 电 话:(010 )63835786 传 真:(010)51113193 电子邮箱:zxszlpyrr@yahoo.com.cn   ...… 查看全部问答> |
|
串口输出内容如下所示,显示FMD出错,是不是FLASH有关的库没包含进XIPKERNEL? Windows CE Kernel for ARM (Thumb Enabled) Built on Feb 8 2007 at 23:36:51 ProcessorType=0920 Revision=0 sp_abt=ffff5000 sp_irq=f ...… 查看全部问答> |
|
平台是arm的 wince5.0 要求将WINCE EXE和DLL文件加壳压缩并加密,DLL隐藏DLL的输入表和输出表, 有反跟踪和反调试功能, 有经验的可与我联系 价格面议. email:jack_z@163.com 13910199510 赵先生… 查看全部问答> |
|
主芯片:pxa270 刚焊好的板子,使用jtag可以正常的识别到,但是用axd下载eboot.nb0时,出现错误dRDI Servere Error 00602:Can\'t hlat target and make ir enter DEBUG state. 请问这是什么错误,怎么造成的?… 查看全部问答> |
|
由于直流无刷(BLDC)电机可降低能耗及维护成本,因此在对效率和可靠性要求较高的应用场合BLDC电机正重新受到关注。在大量应用中, dsPIC30F 电机控制芯片是多种类型BLDC 电机的理想驱动和控制器件。Microchip 已经开发了许多基于dsPIC30 ...… 查看全部问答> |
|
本帖最后由 paulhyde 于 2014-9-15 03:48 编辑 链接地址http://zhidao.baidu.com/question/473917729.html?quesup2 2012TI杯山东省大学生电子设计竞赛 基本仪器和主要元器件清单1、基本仪器清单 数字电桥 直流稳压电源 量角器 米 ...… 查看全部问答> |
|
大家好! 有人用过fpga2hps_sdram这个接口吗,小弟我在使用的时候发现写可以写进去,但是读不出来,而且读portprotocol 这个寄存器显示为AXI接口,但是我的硬件设置的是avalon接口,不知道怎么回事。有人测试通过回头给小弟指点一 ...… 查看全部问答> |




