历史上的今天
今天是:2024年10月14日(星期一)
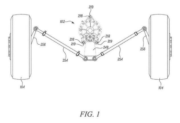
2020年10月14日 | 特斯拉研究线控转向技术 Cybertruck或率先搭载
2020-10-14
近日,我们从相关渠道获悉,特斯拉正在进行线控转向和制动技术的研究,未来 Cybertruck ( 参数 | 询价 ) 纯电皮卡或许会率先搭载相关的技术。


对于线控转向技术,大家应该不会陌生,此前英菲尼迪Q50L就采用了量产的线控转向技术,取消了方向盘与车轮直接联系的机械机构,通过电传技术控制。

不过,就特斯拉而言,它在线控转向和制动技术的研究应该更加着重对未来自动驾驶技术的辅助,会进一步精简转向和制动系统的机械结构,直接使用电机和机电系统解决问题。

简单来说,采用线控转向和制动技术之后,驾驶舱内方向盘和制动踏板等系统的布局会更加灵活,能够同时为内饰设计师和驾驶者带来更加充满想象力和实用性的空间。
史海拾趣
|
wap gprs cmwap cmnet 联通wap之间的关系及不同 1.WAP和GPRS有什么区别啊? 严格的说wap和gprs并不能相提并论的机以比较,因为这是两个不同的技术概念。简单的说,wap是一种无线网络应用协议,而gprs是实现wap应用的一种网络传输技术方式。形象的说,wap如果是一封信,gprs就是送信到达的邮车 ...… 查看全部问答> |
|
大侠好: 目前修改了FLASH升级到64M,现在已经可以正常进入BOOT的MAIN中,用以前的PSM也可以进入到CE中,但是分区还是跟以前一样,在CE下可用的只有3M。 现在我将IPSM中唯一可以修改的文件plat_api.c进行修改: 如下 ...… 查看全部问答> |
|
在wince5.0中如何实现对SD卡的驱动,是不是要以下步骤: 1.在WINCE 项目中添加SD 卡的相关的组建,例如: CATALOG->device drivers->SDIO->SDMemory CATALOG->device drivers->SDIO->SDIO Host->Samsung 2410 SDIO Host CATALOG->device drivers-> ...… 查看全部问答> |
|
我的环境:at91rm9200+28F128+dataflash 我运行仿真器时,程序执行起点是__ENTRY,地址是0x20000000,(1)请问这个地址是可变的吗? 1ffffff4 [0xffffffff] dci 0xffffffff ; ...… 查看全部问答> |
|
replyreload += \',\' + 1099317; 意法半导体在推出STM32微控制器之初,也同时提供了一套完整细致的固件开发包,里面包含了在STM32开发过程中所涉及到的所有底层操作。通过在程序开发中引入这样的固件开发包,可以使开发人员从复杂冗余的底层寄 ...… 查看全部问答> |




