历史上的今天
今天是:2024年11月16日(星期六)
2020年11月16日 | V2X与双目加持,全球第一台L3级自动驾驶量产车:本田Legend剖析
2020-11-16 来源:佐思产研
很多人会说全球第一辆 L3 级量产车不是奥迪 A8 吗?某种意义上确实如此,但是碍于德国和欧盟的法律,L3 级自动驾驶的车辆还不能在德国上市,并且奥迪后来已经基本放弃了 L3。还有人说 FSD 版特斯拉,那个还是典型的 L2 系统,无论算力是 100 TOPS 还是 10,000 TOPS,或者特斯拉与博通联合开发的下一代委托台积电代工的 7 纳米 FSD 系统 HW4.0,三目深度学习系统漏检还是永远无法避免的,事故也是无法避免的,仍然是辅助驾驶系统,仍然是 L2。 所以,全球第一台量产 L3 非本田莫属。
日本的自动驾驶一直被人无视,日本讲究产品成熟度,不成熟的产品不会推出。要做就做到最好。FOTA 或者说全车 OTA 的功能当然可以轻松拥有,但最好一次都不用。 日本是全球第一个法律明确规定允许 L3 级自动驾驶车辆上路的国家。在 2013 年,安倍内阁就启动了 SIP(战略性创新创造方案)项目以推动日本高新产业,振兴经济。其中自动驾驶技术(即 SIP-adus)占据了核心地位,日本政府还成立了 SIP 自动驾驶推进委员会。
2016 年 9 月,日本警察厅颁发《自动驾驶系统道路实证测试指南》,才开始从制度上真正指导自动驾驶的路测。2017 年 5 月,日本政府发布《2017 官民 ITS 构想及路线图》,明确提出了自动驾驶在 2020 年 -2025 年的推进时间表。 2018 年 9 月 12 日,日本国土交通省正式对外发布《自动驾驶汽车安全技术指南》,明确规定 L3、L4 级自动驾驶汽车的安全条件,其目的也在于自动驾驶汽车国际标准出台之前,主导国际话语权。而《路测指南》、《路测许可标准》以及《安全指南》一并构建起了目前日本自动驾驶汽车路测的标准和安全制度。 2019 年 5 月,日本通过新的《道路交通法》,允许 L3 级自动驾驶车辆上路,《道路交通法》对 L3 自驾车的各项技术参数也提出了要求。例如,自动驾驶系统运行的最高速度为 60 km / h;自驾车传感器的向前检测范围必须为 46 米以上;横向检测范围至少能够检测相邻车道的整个宽度。 新法律还规定,自动驾驶汽车必须装载能记录系统运行状态的装置,原则上要保留 6 个月内的记录。如果驾驶员违反此项要求删除记录,将被处以 3 个月以下有期徒刑,或 5 万日元以内的罚款。在保险和责任方面,驾驶员在 L3 级自动驾驶过程中仍有安全驾驶的义务。驾驶员因瞌睡和饮酒等因素,没有及时按照系统要求切换人工驾驶模式而导致事故发生时,将承担刑事责任。此外,因系统出现错误操作等明显故障导致事故发生时,车辆制造商将有可能承担过失。

这是本田 2013 年对自动驾驶车辆架构的构想,7 年来本田一直沿既定路线前进。 日本发展自动驾驶的最大优势有三点,一是日本拥有 QZSS 准天顶系统,可以保证日本国土上空任意时刻都有一颗仰角超过 70°的卫星,北斗目前大约在 30-40°之间,只有如此高的仰角才能保证卫星做到实用级厘米级定位,并且成本增加微乎其微,苹果日本发售的手机都支持 QZSS。二是日本有国家级高精度地图企业 DMP 提供高精度地图支持,三是日本的 V2X 网络基本铺设完成,当然这是 DSRC 标准的。 本田自动驾驶的特点之一是加入了 V2X 和高精度地图。

本田或者说日系的自动驾驶都会沿着这条路走下去,就是高精度地图与 V2X 融合。这里就需要提到日本 DMP 公司,日本在 2016 年 6 月成立了 DynamicMap Planning 公司,该公司股东包括日本 10 大汽车公司,三菱电机和地图开发商 Zerin。其中核心技术源自三菱电机的 MMS(Mobile MappingSystem)。日本 DMP 公司将静态信息模型分成动态、准动态、静态、准静态等四层 LDM 模型,并且想把这个格式推向全世界。
2017 年 6 月日本政府机构 INCJ 加入 DMP 并成为第一大股东,持股比例达 33.5%,三菱电机持股 14%,地图开发商 Zenrin 公司持股 12%,地图开发商 PASCO 持股 12%,地图发行商为 AisanTechnology 持股 10%,Increment 持股 8%,丰田地图大师持股 8%,其余股份为 10 大车厂,每家公司从 5%的股份直接减少到 0.5%。公司也更名为 Dynamic Map Platform。2019 年 2 月,DMP 收购了背后由通用支持的美国地图技术初创公司 Ushr。Ushr 就是那个全球第一个商用化高精度地图的公司,为卡迪拉克超级巡航系统提供激光雷达地图,这是卡迪拉克每次都能在辅助驾驶系统中力压特斯拉成为第一名的主要原因。

DMP 的股东
四层 LDM 模型实际源自博世,没错,博世几乎无处不在,早在 2007 年博世就提出了四层 LDM 模型,但将其实用化的是日本 DMP,欧洲 ETSI 努力 10 年也基本毫无成绩。LDM 模型的最上层即动态层,就是中国企业火热追捧的 V2X。 中国也有与 DMP 高度近似的企业,那就是国汽智联,即国汽(北京)智能网联汽车研究院有限公司。国汽智联由中国汽车工程学会、中国汽车工业协会及中国智能网联汽车产业创新联盟共同发起筹建,公司 18 家股东单位均为整车、零部件、信息通信等领域的领军企业和科研机构,包括一汽、东风、长安、北汽、广汽、德赛西威、江铃、上汽、北斗星通、四维图新、宇通客车、中汽研。成立于 2018 年 3 月,2020 年 1 月新增 4 家股东,包括包括大众汽车(中国)投资有限公司、通用汽车(中国)投资有限公司、博世(中国)投资有限公司和海克斯康测量技术(青岛)有限公司。
不过民营企业似乎对此缺乏兴趣,比亚迪、吉利、长城没有加入。 国汽智联规划有五大共性交叉以及产业化支撑平台,分别是:智能网联计算基础平台,智能网联车载终端基础平台,智能网联汽车云控基础平台,高精度动态地图基础平台,信息安全基础平台。其中高精度动态地图基础平台影响力最强,近似于日本的 DMP,其任务包括整合行业内的资源,制定高精地图的数据标准,研发高精地图采集与加工的基础关键共性技术,开展全国范围内的高精地图大规模快速的采集。 在日本 4 层 LDM 的基础上,中国提出 7 层模型。

V2X 在第六层。 本田自动驾驶除了 V2X 和高精度地图外,另一个特色是ステレオカメラ,即立体双目。

这是本田 2016 年可持续发展报告里对自动驾驶的描述,可以清楚看到使用了立体双目。双目的作用包括车道线和路沿识别,还有前方障碍物的距离测量。双目可以检测高度,也就可以检测路沿。 自动驾驶领域,感知部分的任务就是建立一个准确的 3D 环境模型。
深度学习加单目三目是无法完成这个任务的。单目和三目摄像头的致命缺陷就是目标识别(分类)和探测(Detection)是一体的,无法分割的。必须先识别才能探测得知目标的信息,而深度学习肯定会出现漏检,也就是说 3D 模型有缺失,因为深度学习的认知范围来自其数据集,而数据集是有限的,不可能穷举所有类型,因此深度学习容易出现漏检而忽略前方障碍物,如果无法识别目标,单目就无法获得距离信息,系统就会认为前方障碍物不存在危险,不做任何减速,特斯拉多次事故大多都是这个原因。传统算法,则可能无法识别前方障碍物,但依然能够获知前方障碍物的信息,能够最大限度地保证安全。当然这需要传感器配合,激光雷达和双目立体视觉都是以传统算法为核心(因为它不需要识别目标,自然就不需要深度学习,当然你也可以用深度学习处理激光雷达数据,但不是为了识别目标)。
其次,深度学习是一个典型的黑盒子系统,汽车上任何事物都必须具备可解释性和确定性,深度学习并不具备。传统车厂尽量避免在直接有关汽车安全领域使用深度学习,当然,深度学习是识别目标准确度最高的方法,不得不用。大部分车厂会坚持使用可解释的具备确定性的传统图像算法,直到深度学习变成白盒子,目前来看这可能性微乎其微。
毫米波雷达一般都安装的很低,遇到底盘高的车辆,毫米波雷达都会尽量减少垂直方向波束的能量,这就造成波束穿过车底部,没有反射点。毫米波雷达物体分隔度依赖带宽,目前 77Ghz 毫米波雷达带宽最高 500MHz,物体分隔度为 75 厘米。再加上多普勒效应在切线方向无效,基本上对于比较窄的目标(低于 1.5 米),横向移动目标,静止目标,超宽目标,毫米波雷达表现都很差,特别是静态目标。为了防止误动作,除了大陆 ARS540,毫米波雷达都会在最初阶段就过滤静止目标即使融合传感器,提高程度也很有限,远距离、高底盘车辆、重载车、行人和小目标 AEB 完全依赖视觉系统。
丰田、斯巴鲁、奔驰、下一代大众、宝马、路虎、大发、铃木都是双目的拥趸,T1 中博世、大陆汽车、电装、日立、Veoneer 也都是双目的拥趸。现在双目又多了一个拥趸,本田。本田后续也会在其其他车型上使用立体双目。三目 2D 的绝对霸主 Mobileye 也在最新的产品开始转向立体视觉,人命比利润重要。

从图片上看,本田自动驾驶的立体双目似乎是博世的 12 厘米基线立体双目。


本田自动驾驶使用 5 个激光雷达,目前能达到车规级激光雷达只有法雷奥的 Scala,因此很有可能是 2 代 Scala。360 度旋转型激光雷达实际最大的瓶颈在寿命和低温,早期从事自动驾驶的业者对这两点最有体会,有些使用频繁的激光雷达用了 1 年就坏了,还有就是零下 10 度甚至 5 度会停止工作,本人在天津就遇到过。

相比一代 Scala,二代从 4 线增加到 16 线,在水平 30 度角内分辨率达 0.125°,这个分辨率相当不错了,界面也从老式的 Flexray 进化成 100M 的车载以太网。 本田为自己的自动驾驶系统申请了专利,申请地包括美国、日本和中国,专利公布日期是 2020 年 10 月,非常新。

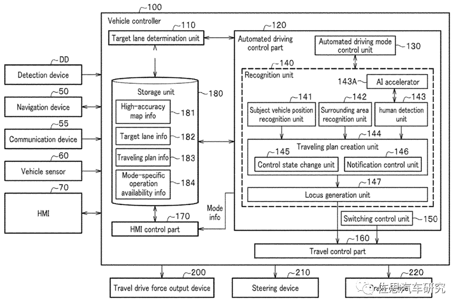
本田自动驾驶架构

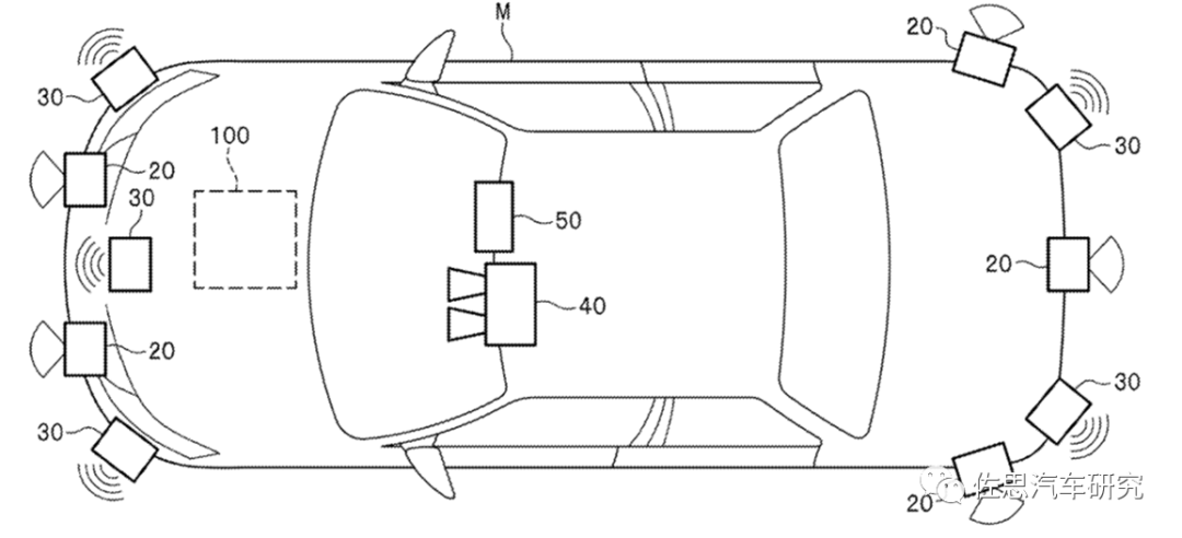
本田自动驾驶传感器系统

本田自动驾驶决策
本田自动驾驶系统计算平台可能是基于 FPGA 的。 本田自动驾驶是基于其旗舰轿车 Legend 的,这是辆 V6 排量 3.5 升混动车型,它还有一个名字是讴歌 RLX。其售价相当高,没有自动驾驶功能的 Legend 售价就大约为 707 万日元,预计自动驾驶系统将增加大约 300-400 万日元,大约折合人民币 18.5-25 万左右。不过此车型只在日本发售,即使非自动驾驶版的 Legend 也没在中国销售。
史海拾趣
|
现在遇到一个问题,我控制3个轴电机的脉冲输出,分别从Y0,Y1,Y2输出 程序用的是在流程中进行脉冲输出,如果没有Y2的输出指令,工作是正常的,加入加入了Y2脉冲输出指令,即使没有执行Y2输出,Y0和Y1脉冲输出就会受到影响,只发送第一段程序,具体就 ...… 查看全部问答> |
|
http://www.docin.com/mydoc-10414446-1.html&folderId=68862 96篇DSP的优秀学位论文,里面还有嵌入式LINUX,VXWORKS的论文,… 查看全部问答> |
|
目前在学习SMT32是开发,请问我的串口中断为什么仿真不对,情况如下:该有的配置都以完成,时钟 RCC_APB2PeriphClockCmd(RCC_APB2Periph_USART1 | RCC_APB2Periph_GPIOA | RCC_APB2Periph_AFIO, ENABLE); ...… 查看全部问答> |
|
ARM应用软件的开发工具根据功能的不同,分别有编译软件、汇编软件、链接软件、调试软件、嵌入式实时操作系统、函数库、评估板、JTAG仿真器、在线仿真器等,目前世界上约有四十多家公司提供以上不同类别的产品 ...… 查看全部问答> |
|
有一款SOC芯片,需要外接两片SRAM,SRAM型号为:K7N643645,两片组成64*2M存储系统。SRAM工作频率 和SOC工作频率一致,都是200M。现在设计的SOC芯片里面的SRAM控制器与外接SRAM的信号保持时间有点 不满足,在芯片后端PRIMETIME的静态时序分析报告 ...… 查看全部问答> |
|
写了主机和从机的程序,两块107可以进行询问——应答方式的485通信,现在把程序移植到103上面,不行。我是用数组保存数据帧的,在数据帧发送或接收完成前板子时钟保持发送或接收的状态。标志位用到的是TXE和RXNE,通过中断方式。把运行过程的中间参 ...… 查看全部问答> |
|
我曾经和一个老工程师面试一个刚毕业一年的大学生。 面试者:用51做过项目 老工程师:三个51的IO口可以接几个按键啊! 面试者:8个 老工程师:微笑着摇摇头 面试者:哦!7个 老工程师:微笑着点点头,对,要把没有按键按下的状态去掉 我要 ...… 查看全部问答> |




