历史上的今天
今天是:2024年12月17日(星期二)
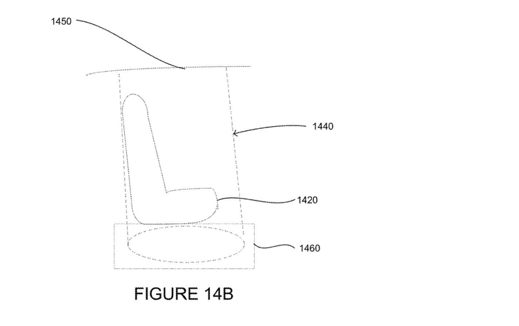
2020年12月17日 | Waymo申请新型安全气囊专利,碰撞时它会拥抱你
2020-12-17 来源:EEWORLD

毫无疑问,安全气囊是汽车市场上最好的发明之一,虽然新车上的安全气囊数量一直在增加,但不少公司一直在寻找新的方法,使其更加有效。谷歌的兄弟公司Waymo,它们同属于Alphabet公司,最近申请了一项专利:一种安全气囊,可以在车辆发生剧烈碰撞时拯救生命。
这个专利被称为Deployable passenger enclosure,它描述了一种技术,当碰撞发生时,外壳会从每一个角度保护乘客。




从理论上讲,虽然现在车内安装的安全气囊可以帮助保护乘客,但这个外壳所做的就是 "拥抱 "乘客,确保乘客不受伤害。
"在一些实施例中,系统还可以装配在车辆的第二排座椅,"专利中写道。
"安全气囊系统的第二部分可以并入第二排座椅中。第二排座椅可以朝向车辆中的座椅。第二部分和第一部分可以被配置为当安全气囊系统已被部署时形成围绕座椅的部分围栏,以减少当乘客在座椅上时对乘客造成伤害的可能性。"Waymo在专利文件中解释道。
列名中包含的图纸,你可以在这里的照片库中查看,提供了一个近距离观察安全气囊应该如何工作,解释了在发生碰撞的情况下,围栏将如何形成。
该系统仍处于专利阶段,这意味着Waymo的想法还没有达到量产阶段。根据美国专利商标局的官方记录,该专利是在2018年6月申请的,并在今年12月获得授权。
史海拾趣
|
补充一些内容 (仅针对工包,行货不管这些)一:输出滤波元件 (看不懂的可以不管这一部分)功率稍微大点(250W)的电源,输出的滤波线圈就是2个.再大点(400W以上)的一般都是3个.输出滤波电感通常位于电源的那一大堆出线附近. ...… 查看全部问答> |
|
硬件工程师在硬件开发中要注意的事项 [ 2010-7-5 2:47:00 | By: szdiscuz ] 1 启动一个硬件开发项目 原始的推动力会来自于很多方面,比如市场的需要,基于整个系统架构的 ...… 查看全部问答> |
|
WINCE下怎么诊断一个驱动有没存在资源锁死的问题?就是多个线程对同一个资源的访问同步互斥没做好。 WINCE下怎么诊断一个驱动有没存在资源锁死的问题?就是多个线程对同一个资源的访问同步互斥没做好。… 查看全部问答> |
|
======WINCE6.0下这些异常怎么定位解决---Exception 'Undefined Instruction'++++Exception 'Pref ======WINCE6.0下这些异常怎么定位解决---Exception \'Undefined Instruction\'++++Exception \'Prefetch Abort\' ======… 查看全部问答> |
|
Xilinx Spartan-6 FPGA SP605 Embedded Development Kit 试用报告 v1.0 Spartan-6 FPGA 嵌入式套件已试用完成,现已传递给下一位使用者,现在上报告!O(∩_∩)O~Xilinx Spartan-6 FPGA SP605 Embedded Development Kit试用报告 v1.0,目录如下: 报告前三节已基本完成,后三节将在v1.1中更新,谢谢!下载报告,请右击 ...… 查看全部问答> |
|
交流电流过负载时,加在该负载上的交流电压与通过该负载的交流电流产生相位差,人们便从中引出功率因数这一概念。人们生产、生活用电来自电网,电网提供频率为50Hz或60Hz的交流电。作为交流电的负载有电阻、电感、电容三种类型: 1、当交流电通过 ...… 查看全部问答> |
|
请问各位,怎么实现5438和电脑进行网口通信?我用的开发板是BW-DK5438的,上边的网口芯片是ENC28J60,怎么进行连接呢?用网络调试助手还是其他手段呢?在连接的时候,430的端口号和IP地址如何设定呢?谢谢了… 查看全部问答> |




