历史上的今天
今天是:2025年02月12日(星期三)
2021年02月12日 | 苹果头戴设备又出新玩法:可检测食品,支持眼球追踪
2021-02-12 来源:新浪科技
据报道,美国专利商标局周四公布了苹果公司的三份专利申请。这些专利申请显示,苹果正在对其头戴式设备进行持续技术改进。

这些技术改进包括了可用于测量食物新鲜度或热量含量的红外传感器在内。三款专利技术都可应用于苹果的虚拟现实(Virtual Reality,VR)或增强现实(Augmented Reality,AR)设备中,比如传闻中的面罩式混合现实耳机(visor-like mixed-reality headset)。
一、用于食品检测的红外传感技术
第一项专利是一种红外传感电子系统,使用红外传感器来收集目标物体的光谱。该系统可通过单独或组合使用红外光谱、可见光相机图像和 / 或来自其他传感器的数据来表征目标物体,可潜在应用于苹果的头戴式增强现实设备中。例如,该系统可以用于食品的图像识别等任务。通过对食品进行图像识别,可触发存储在数据库中的一些信息,这些信息包括某些食物特性比如新鲜度、脂肪含量、食物类型、甜度等,从而可以评估食品的成熟度和热量含量。
当然,该技术的应用范围也不仅限于食物。一般来说,任何类型的物体,包括植物、动物、食物、油漆、房屋建筑、汽车、电子设备、家具等,都可以使用光学传感器进行分析。此外,该系统还可用来监测用户的某些身体指标,比如呼吸状况等。
二、用于头戴式设备的自适应面部接口
第二项专利描述了一个可用于头戴式显示设备的自适应面部接口系统。根据该专利,该接口系统可佩戴在用户头上,给用户的眼睛提供一个很好的保护以避免环境光的干扰,从而为用户的虚拟现实或混合现实体验创造出一个舒适环境。
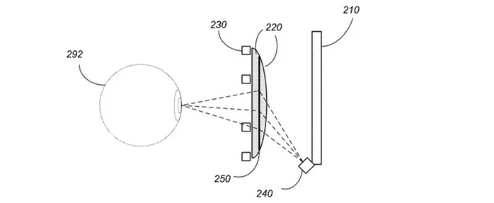
三、眼球追踪技术
第三项专利涉及到眼球追踪技术,同样可应用于增强现实和虚拟现实设备中。周四公布的这项眼球追踪专利远不是苹果第一个这方面的专利。但与苹果以往的眼球追踪专利相比,这项专利的眼球追踪技术有了进一步的改进。

一款眼球追踪设备至少包含一个摄像头和一个照明光源。与以往专利使用的 “热镜”技术不同,苹果的这一最新专利使用了衍射光栅来接收光线。衍射光栅可重定向或反射一部分从用户眼睛反射的红外光,同时允许可见光通过,然后摄像头从重定向或反射的红外光中来捕捉用户眼睛中的图像。使用了衍射光栅的设备将比使用热镜的设备更为小巧,并可改善红外摄像头的视角。
史海拾趣
|
问个sourceinsight使用的问题:在sourceinsight中添加工程的时候,默认添加的都是文件的绝对路径,如何改成相对路径, 这样可以方便工程的拷贝?哪里大侠知道怎么设置?… 查看全部问答> |
|
哪位装了platform builder,麻烦发一下pkfuncs.h还有对应的lib给我啊.谢谢nanzhicheng at 126 dot com… 查看全部问答> |
|
将原来是Pocket PC2003(ARMV4)的代码改为Windows CE(x86)并用VS2005(vc++)编译出错:fatal error LNK11 公司要求: 要把原来用来放在Pocket PC 2003(ARMV4)的代码重新编译成Windows CE 5.0(x86)程序, 并需要放在Windows CE 5.0 Emulator(模拟器)里运行, 先安装Windows CE 5.0 STANDARD_SDK, 然后,重新用VS2005(vc++)重新建立一个project: ...… 查看全部问答> |
|
static int read( const char *filename) { FILE *str; CString string; string.Format(_T(\"%s\"), filename); ::MessageBox(NULL, strin ...… 查看全部问答> |
|
昨天,在写流水灯程序的时候。打算用PIO0去实现12个流水灯的实验,程序一下子编写好了,接着编译下载,之后调试,成功!!点击仿真界面全速运行按钮,PIO0_0--PIO_3端口LED灯没有反应,而其余工作正常!!为什么呢??不知道大家注意到了吗??PIO0 ...… 查看全部问答> |
|
在手册中写到Px_ODR可以位输出; 原文如下: Bit read-modify-write instructions (BSET,BRST) can be used on the DR register to drive an individual pin without affecting the others. 那C语言中怎么实现了?… 查看全部问答> |




