历史上的今天
今天是:2025年04月01日(星期二)
2021年04月01日 | 未来MacBook Pro外壳可能是一个可定制触摸感应表面
2021-04-01 来源:cnBeta
多年来,MacBook机型的键盘不断进化,苹果公司不断改变按键的设计和输入体验。这导致了蝴蝶键盘风波和Magic Keyboard中剪刀开关的回归等事件。不过,苹果仍在研究如何用新的方式调整打字体验。其中一种方法可能会引入力敏打字和其它好处。
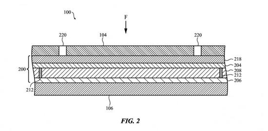
美国专利商标局周二授予的 “电子设备可配置的力敏输入结构 ”专利主要适用于MacBook Pro和其他笔记本,但也可以可行地用于其他地方,它显示未来的MacBook Pro键盘可能会取消键盘开关,而采用巨大的触摸感应表面,利用力检测和金属变形来管理文字输入。
在该专利中,苹果建议使用 “可维度配置的输入区域 ”来定义键盘的位置,以及其他类似的触控板区域。这个区域会有一个金属接触层,定义区域内的按键和其他元素。在金属接触层下面是一个传感层,然后是一个与之 电容连接 的驱动层。在传感层和驱动层之间夹着一个顺应层。这些层将构成键盘工作所需的压力感应元件,有效地创造了一个巨大的触控板,当区域被触摸或按下时,它可以感应到。
顺应层的使用将使金属层能够有足够的弯曲,为用户提供反馈感。通常情况下,触控板不会提供任何类似于键盘按键机制的推力,而这在理论上可以提供一定程度的模仿。
这种技术可以确定触控板上的力道和一个位置,这可以用来定位用户在键盘上的什么地方按过键,以及他们按的键是否足够登记为按键。一般的键盘机制不一定会记录一个按键,直到达到一定的驱动水平,而建议的系统将模拟这种情况。
金属层将在其表面上包括大量的小孔,这些小孔用透明材料堵住,可以用来将光照到用户身上。这些孔洞,类似于一个有限颜色的显示器,可以用来定义键盘的轮廓,添加按键字形,或者为特定的应用提供另一种触摸界面。
苹果使用金属接触层的理由是,它实际上可以形成MacBook下半部分外壳的一部分。通过拥有一个无缝的表面,没有大孔或暴露的机制,它消除了任何困扰蝴蝶键盘机制的碎片问题。它还可以提供少量的防水功能,最大限度地减少溢出物的损害。
该系统还消除了任何因按键损坏而产生的问题,键帽的丢失有可能使用户无法在MacBook上正确打字。该系统不使用键帽或外露的机构,减少了此类问题。

史海拾趣
|
急问:MP3电路原理图!请教高手,帮我分析下这个MP3原理图中各个组成部分的原理、处理器的功能。 http://blog.ednchina.com/Upload/Blog/2007/3/30/826adf84-7829-4de7-8065-2149d80d0c85.jpg 请高手帮我分析下这个MP3原理图中各个组成部分的原理、处理器的功能。 谢谢!… 查看全部问答> |
|
弱弱的问一个问题,Windows中的WinInet API在Window Mobile中能用吗? 例如HttpSendRequest、InternetReadFile之类的函数。 如果不可以,是否手机就不能通过http协议请求某个服务器的数据?… 查看全部问答> |
|
陶瓷材料因本身具有优良的绝缘、耐热及稳定等先天特性,所以被大量运用在电气设备的绝缘上,又因陶瓷金属化技术的成熟,近几年更被应用于led陶瓷散热基板与载板的线路铺设。陶瓷材料金属化技术主要分为「DBC(Direct Bonded Copper) 」及「DPC(Di ...… 查看全部问答> |
|
我的2812芯片flash写入了一次之后,就没办法写了怎么回事的?CCS连接之后点on-chip flash programmer,对话框全是灰色的,只有一个onlock按钮可以点,但是点了之后弹出unlock failed,CCS提示解锁失败,设备锁定。 但是上次烧写的时候我并没有改动 ...… 查看全部问答> |
|
记录学习LM3S的点点滴滴 (声明:该学习心得是本人通过学习周立功的相关资料后的个人理解后的笔记,由于本人水平有限,也许会有错误或是偏差,若想要保证准确无误,建议自己去下相关资料学习,本心得只供参考,若有错误之处,敬请指出,万分感谢 ...… 查看全部问答> |
|
本人刚开始学uCOS系统,现在有一块S3C44B0X的板子,想把uCOS移植进去,于是在网上找了一些基于S3C44B0X的uCOS源码,但是不知道如何运用编译器把源码处理,自然也就不知道怎么把内核系统烧进板子,现在不知道如何下手,而且在网上找的资料都没有运用 ...… 查看全部问答> |
|
我用Verilog HDL编写了一个rs232串口驱动程序。在用串口调试助手进行调试时,当我发送2,4,6,8,A,C,E时,接受没有出现一个乱码,但当我发送1,3,5,7,9,B,D,F时出现乱码,在每300中出现4——5个乱码,有时只出现一个。请问这是什么原因,还是 ...… 查看全部问答> |




