历史上的今天
今天是:2024年09月15日(星期日)
2021年09月15日 | jz2440裸机开发与分析:串口基础知识1
2021-09-15 来源:eefocus
UART简介
串口的作用
1、打印调试信息
2、连接一些串口设备,比如GPS,GSM,ESP8266
串口需要配置的内容
1、波特率 2、数据位 3、停止位 4、校验位 5、流控制
串口发送数据的过程

1、双方先约定好每一位占据的时间(波特率),假设为1s
2、首先arm将TXD引脚拉低,维持1bit(1s)时间
3、PC机载低电平开始处计时
4、arm根据数据驱动引脚TXD电平,每一位维持1bit(1s)时间,发送8位,称为数据位
PC机在数据位的中间读取引脚状态
5、第7位发送完成之后,发送校验位(奇偶校验位,数据位+校验位中为1的个数是奇数或者偶数)
校验位现在基本用不到了,电子技术很稳定
6、 最后发出停止位,高电平(可以约定停止位占据的时间)
逻辑电平
1、TTL电平:输出高电平>2.4V,输出低电平<0.4V。在室温下,一般输出高电平是3.5V,输出低电平
是0.2V。最小输入高电平和低电平:输入高电平>=2.0V,输入低电平<=0.8V,噪声容限是0.4V。
2、CMOS电平:1逻辑电平电压接近于电源电压,0逻辑电平接近于0V。而且具有很宽的噪声容限。
3、RS232:逻辑1(MARK)=-3V~-15V;逻辑0(SPACE)=+3~+15V;适合远距离传输
PC端串口属于RS232,所以单片机连接PC端,中间需要一个转换芯片
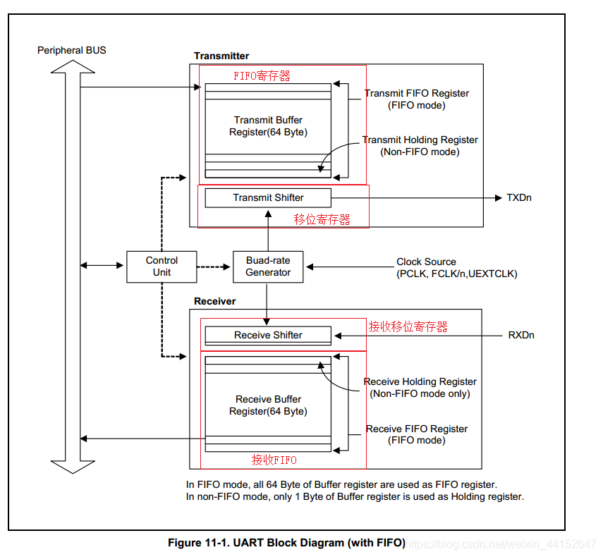
2440串口结构图


串口发送;
1、 因此肯定会有一个移位器对应图的Transmit Shifter
2 、移位的数据来自于fifo,图中的Transmit Buffer Register,
3、 而fifo中的数据来自于内存。
串口接受:
1、 移位器逐位接受数据
2 、放入fifo
3、 程序从fifo中取出数据
如何知道数据发送完了哪?数据发送完 会有状态标记或者中断触发
接下来开始串口编程~~~~~~~~
史海拾趣




