历史上的今天
今天是:2024年09月22日(星期日)
2021年09月22日 | 磁翻板液位计显示面板结构改进设计及其必要性
2021-09-22 来源:eefocus
磁翻板液位计在各种槽、罐、塔等设备的介质液位检测方面有着广泛地应用。磁翻板液位计一般由显示面板、浮筒以及磁浮子等构成,浮筒内设有磁浮子,且该磁浮子本身直接浮于液面上,该浮筒外设有翻片显示面板,显示面板内设有磁性翻片,该翻片显示面板的磁性翻片和该磁浮子磁性耦合,进而指示液位的实际高度。
传统磁翻板液位计的缺陷及结构改进的必要性
目前市面上供应的大部分磁翻板液位计的显示面板普遍宽幅较窄,可视角度受到较大限制,致使远视效果不好,不便于实现远距离或者侧视的现场监视管理。而磁翻板液位计主要是对罐、槽、箱等容器中液体的液位进行测量,是一种就地显示的现场仪表,尤其是安装在室外的磁翻板液位计,要求可视角宽,刻度标尺数字大,清晰醒目,以便能远距离监视液位的变化情况。所以,传统磁翻板液位计的这一结构性缺陷,与用户的实际需求相悖,很有改进的必要。那么如何进行结构创新设计呢?
计为磁翻板液位计的结构创新设计
针对市面上磁翻板液位计的上述缺陷和弊端,深圳计为自动化技术有限公司的研发工程师在多次试验的基础上,对现有的显示面板结构做出了改进,提出了自己独创性的解决方案,设计了一种新型的磁翻板液位计显示面板以及翻片容置装置。
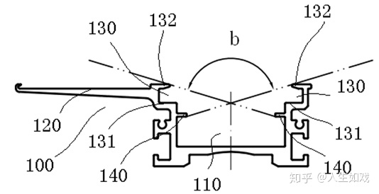
翻片容置装置包括用于装设翻片的第一安装槽和用于安装透明面板的第二安装槽。第二安装槽为两个,其以开口方向相对的方式设置,第一安装槽位于两个第二安装槽中间空隙的下方。两个第二安装槽靠近第一安装槽一侧的侧壁为第一侧壁,远离第一安装槽一侧的侧壁为第二侧壁,两个第二侧壁之间的距离大于两个第一侧壁之间的距离,使两个第二安装槽之间形成敞口状的结构。该敞口状的结构使得从翻片容置装置外观察到第一安装槽内翻片的视角增大,便于从更多角度观察翻片的变化。

实践证明,计为自动化在磁翻板液位计结构方面的这一创新性设计,增大了观察视角,解决了长期以来困扰用户的读取不便的难题,从而方便地实现了远距离或者侧视的现场监视管理,赢得了用户的一致赞誉。
上一篇:浮球液位计全方位剖析
下一篇:磁翻板液位计密封结构的弊端及改进
史海拾趣
|
遥控器用的红外LED,因为红外LED发出的光不完全是红外光,也包含部分的可见光(红色)成分,所以肉眼能看到少许光。遥控器使用的LED,一般发射角度是30度左右,用户即使没有完全对准目标,也能有效操作。在没有外界红外线干扰的时候,遥控距离可以 ...… 查看全部问答> |
|
在wince 6.0中我有一个客户端程序,先后两次调用InitializeSecurityContext用于和google服务器端进行安全认证,第一次调用返回的是SEC_I_CONTINUE_NEEDED,第二次返回的是SEC_E_WRONG_PRINCIPAL,请问怎么解决啊?是不是和证书有关系?相同程序在wi ...… 查看全部问答> |
|
各位有需要电子元件的请和我联系,库存商品优惠啦!:D 小店欢迎您的光临 石家庄傲尔科技有限公司是一家专注于国外中小电子工程分包商,经过多年的发展,我公司与国际大的元件供应商如MOUSER, DIGIKEY建立了稳定的合作。 我们的优势:1. 保证 ...… 查看全部问答> |
|
void main(){ init_serialcom(); //步进电机不能有这个函数,这是一个初始化串口的函数, ATE0(); //步进电机也不能有这个函数,这是个向串口发送AT指令的函数。 为什么去掉这前两个函 ...… 查看全部问答> |
|
u8 sd_raw_get_info(struct sd_raw_info* info)中struct怎么理解 u8 sd_raw_get_info(struct sd_raw_info* info) { …… } 这个子程序怎么用啊,像u8 mmcWrite(u32 sector, u8* buffer)这种,我在主程序中只要定义unsigned char SD_Write1[]={\"0123456789\"}; 就可以用了mmcWrite(SD_Write1); 但是这个定义 ...… 查看全部问答> |
|
SD24的SD24CCTLx寄存器 SD24GRP 位 SD24_A group. Groups SD24_A channel with next higher channel. Not used for the last channel. 如何使用该位?… 查看全部问答> |




