历史上的今天
今天是:2024年09月26日(星期四)
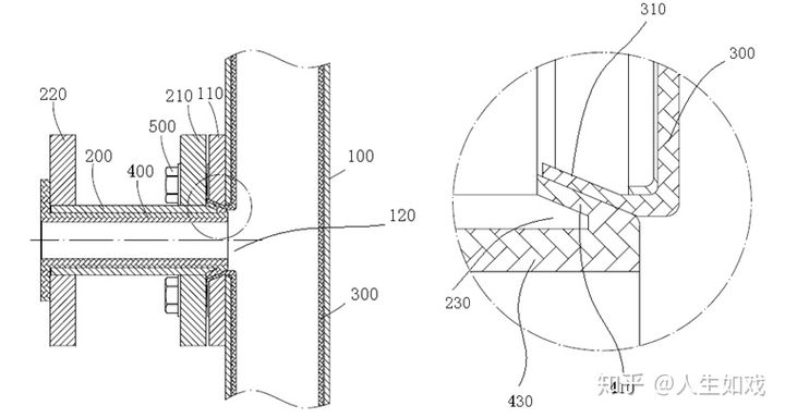
2021年09月26日 | 防腐型磁翻板液位计的内衬工艺
2021-09-26 来源:eefocus
磁翻板液位计广泛应用于各种塔、罐、槽等设备内介质液位检测。一般的,磁翻板液位计的安装方式有多种,侧装式是常见的一种方式。侧装式磁翻板液位计包括主管体浮筒和连接小管,该浮筒通过法兰和连接小管与被测容器连通。
当被测液体为腐蚀性液体时,通常需要采用内衬设计,以防止被测液体腐蚀浮筒以及连接小管,从而造成生产安全事故。但现有磁翻板内衬工艺结构中,连接小管的内衬(第二内衬)都是单独伸出连接小管外,并与浮筒中内衬(第一内衬)紧密接触形成密封,通常是第一内衬包裹第二内衬形成密封。但,当第一内衬在压紧第二内衬时,其施加给第二内衬一个沿连接小管径向向内的作用力,这个作用力使得第二内衬沿径向变形,从而使第二内衬中部的通孔变小,引起液体中的一些杂质堵塞,从而导致磁翻板液位计不能正常工作,给生产带来麻烦。
深圳计为自动化技术有限公司研发工程师在多次试验的基础上,对现有的内衬工艺结构做出了改进,连接小管的一端具有基本呈筒状的支撑部,第一内衬部分从浮筒的连接口伸出并形成基本呈筒状的第一密封部,第二内衬包括容置于连接小管内的内衬部及与内衬部相连且基本呈筒状的第二密封部。第二密封部从连接小管的一端伸出并反向延伸与内衬部之间形成间隙,第一密封部的内壁贴合第二密封部外壁并形成密封连接,而连接小管的支撑部伸入间隙中,对第二密封部至少在径向上形成支撑,因此第二密封部乃至整个第二内衬都不会在第一密封部的挤压下向径向变形,避免其变形引起通孔变小,进而造成杂质堵塞。

实践证明,该内衬工艺解决了磁翻板液位计一直存在的内衬问题,提高了磁翻板液位计的可靠性
上一篇:超声波物位计应用的局限性
下一篇:雷达物位计的种类及其应用
史海拾趣
|
4G SD卡开机识别问题~ 有时候能显示盘符,有时候显示不了. 平台 pxa270+wince6.0 显示使用4G SD卡,存在一个奇怪识别问题 有时候开机能显示盘符,有时候显示不了, 如果显示不了. 不过进入系统后再重新插拔一次, 又可以显示及正常使用 2G卡不存在这个问题 看开机过程输出信息, 已经检测到4G卡插入 … 查看全部问答> |
|
修改files下的platform.reg,但是在release下的platform.reg没有的到正确更新。sysgen和copy files都试过了。 D:\\1afc58e7.bmp 这是files下的注册表信息。 但通过copy files 以后得到的结果却是 D:\\8e911ff8.bmp… 查看全部问答> |
|
我是个初学者,看了一本关于WINCE的书,但还有很多疑问 第一个问题,想问下,PB4.2到底是用来做什么的?它的应用步骤是什么啊? 第二个问题想请问大家,如何让2410上的WINCE旋转90度? 网上都说的很笼统,而且都是一样的,我操作上比较困难 … 查看全部问答> |
|
求教!本人初学,自己想DIY一个六通道无线遥控器,为此专门买了块51的学习板(快赶上一个遥控器价格了),主要是想动手做,计划使用两块51cpu+RF模块完成收发功能,但这样是成本是不是太高,外面卖的遥控器都用什么芯片!… 查看全部问答> |




