TMCM-3216步进电机控制器/驱动器模块
2025-07-30 来源:elecfans
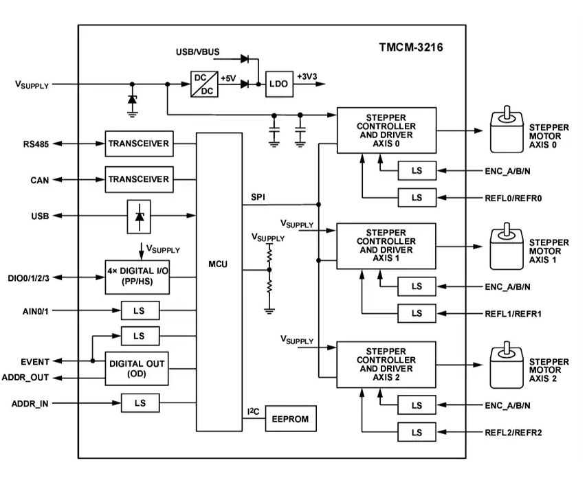
Analog Devices Inc. TMCM-3216步进电机控制器/驱动器模块是紧凑型3轴双极步进电机控制器和独立驱动器板。Analog Devices Inc. TMCM-3216板支持多达三个双极步进电机,电机线圈电流高达2A RMS ,单电源运行,典型值为24V DC (10V至30V范围)。每个电机轴均有单独的基准/停止开关和增量A/B/N编码器输入。此外,该模块还提供四个可编程数字输入和输出,可配置为推挽或高侧输出。两个模拟输入支持0V至10V信号。USB接口可用于配置和更新。RS485和CAN总线接口可用于系统内通信和菊花链电路板,以简化电路板每端通过总线连接器的接线。
特性
3轴步进电机控制器/驱动器
电源电压范围:10V至30V,典型值为24V
三个1.5ARMS 电机电流,2ARMS 峰值
八点硬件斜坡发生器
stealthchop™/spreadGuard™
每个电机轴REFL/REFR参考开关输入
每个电机轴A/B/N编码器输入
四个数字_ IN/OUT、24V推挽或高侧
两个模拟_ IN,0V至10V
RS485/CAN/USB接口
85mm x 55mm (信用卡大小)
上电时自动电路板地址分配(可选)
TMCL、CANopen
应用
工业自动化
实验室自动化
医疗设备



相关文章
- 嵌入式的风向变了:2026纽伦堡嵌入式展透露这些趋势
- 高通确认不在GDC 2026发布新款骁龙G系列掌机处理器SoC
- 行业评论 从工具到平台:如何化解跨架构时代的工程开发和管理难题
- 面向嵌入式部署的神经网络优化:模型压缩深度解析
- 摩尔线程MTT S5000全面适配Qwen3.5三款新模型
- Mujoco中添加Apriltag标签并实现相机识别教程
- 英飞凌与宝马集团携手合作,基于Neue Klasse架构塑造软件定义汽车的未来
- 物理AI仿真新突破:摩尔线程与五一视界共建全栈国产化生态
- 阿里达摩院发布玄铁C950,打破全球RISC-V CPU性能纪录
- 爆火的OpenClaw! 告别云端,米尔RK3576开发板本地部署
热门新闻
- 边缘计算主机盒选购指南:五大核心指标解析
- Arm AGI CPU 更多细节:台积电 3nm 制程、Neoverse V3 微架构
- Arm AGI CPU 重磅发布:构筑代理式 AI 云时代的芯片基石
- Arm 拓展其计算平台矩阵,首次跨足芯片产品
- 阿里达摩院发布RISC-V CPU玄铁C950,首次原生支持千亿参数大模型
- 边缘 AI 加速的 Arm® Cortex® ‑M0+ MCU 如何为电子产品注入更强智能
- 阿里达摩院发布玄铁C950,打破全球RISC-V CPU性能纪录
- VPU中的“六边形战士”:安谋科技Arm China发布“玲珑”V560/V760 VPU IP
- 利用锚定可信平台模块(TPM)的FPGA构建人形机器人安全
最新频道文章




