历史上的今天
今天是:2024年11月09日(星期六)
2019年11月09日 | 2440裸机编程之十 触摸屏
2019-11-09 来源:51hei
触摸屏由于其体积小、轻便和接口简单的特点,成为一种在嵌入式系统中应用广泛的输
入设备。本实例首先介绍四线电阻式触摸屏的结构和工作原理,然后介绍S3C2440A 通过内
部集成的触摸屏控制寄存器的设置,来完成对触摸屏触摸位置坐标的读取。
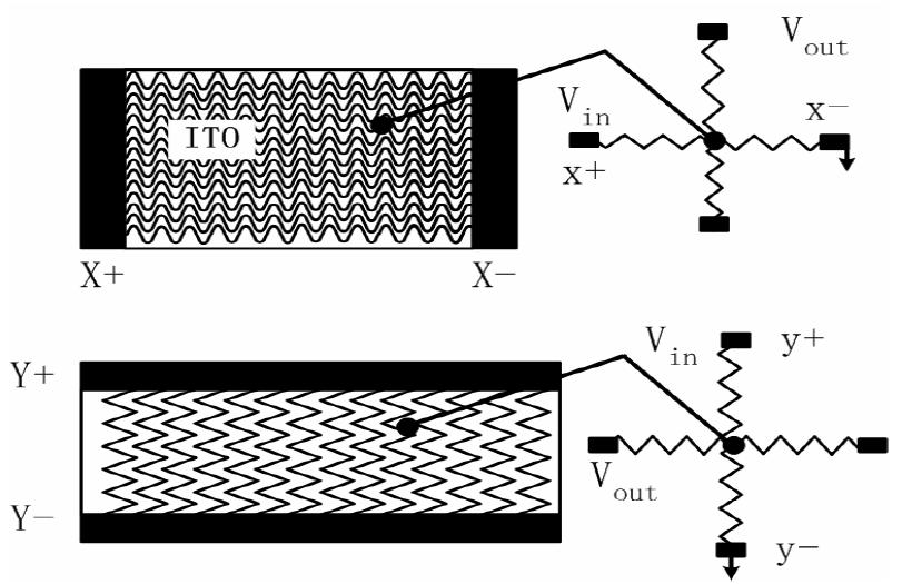
典型触摸屏的工作组件一般由3 部分组成。两层透明的阻性导体层、两层
导体之间的隔离层和电极。阻性导体层选用阻性材料,如将铟锡氧化物(1TO)涂在衬底上构
成,或者上层衬底用塑料,下层衬底用玻璃。隔离层为粘性绝缘液体材料,如聚脂薄膜。电
极选用导电性能极好的材料(如银粉墨)构成,其导电性能大约为ITO 的1 000 倍。

工作原理:见下图
1.获取X坐标:X+和X-加上正负电压,X方向就会形成电势梯度网络;Y-接高阻,Y+接输入,一旦屏幕上某点被按下,绝缘液体被排开,上下两个导体层在此点导通,Y+获取此点在X方向上的电势,即此点的X坐标,通过ADC转换成数字量输入给系统。
同理
1.获取Y坐标:Y+和Y-加上正负电压,Y方向就会形成电势梯度网络;X-接高阻,X+接输入,一旦屏幕上某点被按下,绝缘液体被排开,上下两个导体层在此点导通,X+获取此点在Y方向上的电势,即此点的Y坐标,通过ADC转换成数字量输入给系统。
这样,通过ADC转换成数字量输入给系统。

这里做个试验,笔尖接触 触摸屏,然后串口打印坐标值。
注意X测量时,依据上述原理,XP接参考电平,XM接地,YP接ADC通道5,YM接高阻,上拉功能取消,这些都在寄存器中设置ADCTSC。
同理,Y测量时,YP接参考电平,YM接地,XP接ADC通道7,XM接高阻,上拉功能取消.
其他用到的是ADC相关的寄存器。
//********************************************************************
#define adc_frequency 2000000
U16 x_tsc,y_tsc;
void Main(void)
{
int i;
……硬件初始化……
Uart_Printf("n触摸屏中断+坐标提取实验n");
tsc_int_init(); //触摸屏中断初始化
tsc_init(); //触摸屏初始化
while(1);
}
void tsc_int_init(void) //触摸屏中断初始化
{
rSUBSRCPND |= 1<<9; //INT_TC清0
rSRCPND |= 1<<31; //INT_ADC清0
rINTPND |= 1<<31; //INT_ADC清0
pISR_ADC = (U32)TSC_ISR; //申请中断向量
rINTMSK = rINTMSK & ~(1<<31); //禁止ADC的屏蔽
rINTSUBMSK = rINTSUBMSK & ~(1<<9); //禁止TSC的屏蔽
rADCTSC = 0x0d3 ; //等待中断模式的特定设置
}
void TSC_ISR(void) __irq //触摸屏中断例程
{
rINTMSK |= 1<<31; //ADC中断的屏蔽
rINTSUBMSK |= 1<<9 | 1<<10; //TSC和ADC_S中断屏蔽
tsc_get(); //得到触点坐标
Uart_Printf("x=%d,y=%dn",x_tsc,y_tsc);
rSUBSRCPND |= 1<<9; //INT_TC清0
rSRCPND |= 1<<31; //INT_ADC清0
rINTPND |= 1<<31; //INT_ADC清0
rINTMSK = rINTMSK & ~(1<<31); //禁止ADC的屏蔽
rINTSUBMSK = rINTSUBMSK & ~(1<<9); //禁止TSC的屏蔽
rINTSUBMSK = rINTSUBMSK & ~(1<<10); //禁止ADC_S的屏蔽
}
void tsc_init(void) //触摸屏初始化
{
rADCDLY= 0x5000;//必须要延时
rADCCON = (PCLK/adc_frequency - 1)<<6 | 1<<14 ; //设置ADC频率,预分频有效
}
void tsc_get(void)
{
rADCCON = rADCCON & ~(7<<3) | 7<<3 ; //选择XP通道
rADCTSC = (0<<7)|(1<<6)|(1<<5)|(0<<4)|(1<<3)|(0<<2)|1 ; //X测量模式:YM=Z, YP=AIN[5] ,XM=GND, XP=V, PULL_UP=DISABLE, NORMAL, X-position (ENABLE=GND/V)
rADCCON|=0x1; //启动ADC
while(rADCCON & 0x1); //等待启动
while(!(rADCCON & 0x8000)); //等待是否转换完毕
x_tsc = rADCDAT0&0x3FF; //得到转换结果
rADCCON = rADCCON & ~(7<<3) | 5<<3 ; //选择YP通道
rADCTSC = (1<<7)|(0<<6)|(0<<5)|(1<<4)|(1<<3)|(0<<2)|2 ; //Y测量模式:YM=GND, YP=V ,XM=Z, XP=AIN[7], PULL_UP=DISENBLE, NORMAL, Y-position (DISABLE=AIN/Z)
rADCCON|=0x1; //启动ADC
while(rADCCON & 0x1); //等待启动
while(!(rADCCON & 0x8000)); //等待是否转换完毕
y_tsc = rADCDAT1&0x3FF; //得到转换结果
tsc_int_init(); //触摸屏中断初始化
Delay(10);
while(!((rADCDAT0 & 0X8000) & (rADCDAT1 & 0X8000) ));//等待笔尖抬起
}
//*******************************************************************
结果如图:


下面做个LCD和触摸屏TSC结合的实验,每当触摸屏某点被按下,在LCD的此点显示一个小正方形。
注意LCD的XY坐标与TSC的XY坐标不一样,需要转化,我研究了一下之间的关系,不是太精准,仅供参考:(x_lcd, y_lcd) = ( 1.0084*y_tsc - 150,-0.82*x_tsc +600,12345)。
//********************************************************************
#define adc_frequency 2000000
#define CLKVAL (6) //VCLK=HCLK÷[(CLKVAL+1)×2]
#define PNRMODE (3) //TFT LCD panel
#define BPPMODE (12) //16 bpp for TFT
#define ENVID (1) //输出和控制 有效
#define VBPD (29) //垂直同步信号后肩
#define LINEVAL (480) //垂直尺寸
#define VFPD (13) //垂直同步信号前肩
#define VSPW (3) //垂直同步信号脉宽
#define HBPD (40) //水平同步信号后肩
#define HOZVAL (800) //水平尺寸
#define HFPD (40) //水平同步信号前肩
#define HSPW (48) //水平同步信号脉宽
#define FRM565 (1) //565格式
#define PWREN (1) //GPG供电使能(用于掉电模式)
#define BSWP (0) //字节不交换:
//#define HWSWP (1) //半字交换 16位用不到
#define OFFSIZE (0) //若不用虚拟屏幕,则为0
#define PAGEWIDTH (HOZVAL)//虚拟屏幕的宽 单位半字 若不用虚拟屏幕,则和实际一致
U16 x_tsc,y_tsc;
void Main(void)
{
int i;
……硬件初始化……
Uart_Printf("n触摸屏和LCD综合实验nn");
Uart_Printf(" 触摸处将显一个方块nn");
tsc_int_init(); //触摸屏中断初始化
tsc_init(); //触摸屏初始化
lcd_init(); //LCD初始化
//test();
while(1);
}
void test(void)
{
int i;
for(i=50;i<480;i+=50)
zhengfangxing(400,i,3000);
}
void tsc_int_init(void) //触摸屏中断初始化
{
rSUBSRCPND |= 1<<9; //INT_TC清0
rSRCPND |= 1<<31; //INT_ADC清0
rINTPND |= 1<<31; //INT_ADC清0
pISR_ADC = (U32)TSC_ISR; //申请中断向量
rINTMSK = rINTMSK & ~(1<<31); //禁止ADC的屏蔽
rINTSUBMSK = rINTSUBMSK & ~(1<<9); //禁止TSC的屏蔽
rADCTSC = 0x0d3 ; //等待中断模式的特定设置
}
void TSC_ISR(void) __irq //触摸屏中断例程
{
rINTMSK |= 1<<31; //ADC中断的屏蔽
rINTSUBMSK |= 1<<9 | 1<<10; //TSC和ADC_S中断屏蔽
tsc_get(); //得到触点坐标
Uart_Printf("x=%d,y=%dn",x_tsc,y_tsc);
zhengfangxing( 1.0084*y_tsc - 150,-0.82*x_tsc +600,12345);//实验获得转换关系,精度有待提高
rSUBSRCPND |= 1<<9; //INT_TC清0
rSRCPND |= 1<<31; //INT_ADC清0
rINTPND |= 1<<31; //INT_ADC清0
rINTMSK = rINTMSK & ~(1<<31); //禁止ADC的屏蔽
rINTSUBMSK = rINTSUBMSK & ~(1<<9); //禁止TSC的屏蔽
rINTSUBMSK = rINTSUBMSK & ~(1<<10); //禁止ADC_S的屏蔽
}
void tsc_init(void) //触摸屏初始化
{
rADCDLY= 0x5000;//必须要延时
rADCCON = (PCLK/adc_frequency - 1)<<6 | 1<<14 ; //设置ADC频率,预分频有效
}
void tsc_get(void)
{
rADCCON = rADCCON & ~(7<<3) | 7<<3 ; //选择XP通道
rADCTSC = (0<<7)|(1<<6)|(1<<5)|(0<<4)|(1<<3)|(0<<2)|1 ; //X测量模式:YM=Z, YP=AIN[5] ,XM=GND, XP=V, PULL_UP=DISABLE, NORMAL, X-position (ENABLE=GND/V)
rADCCON|=0x1; //启动ADC
while(rADCCON & 0x1); //等待启动
while(!(rADCCON & 0x8000)); //等待是否转换完毕
x_tsc = rADCDAT0&0x3FF; //得到转换结果
rADCCON = rADCCON & ~(7<<3) | 5<<3 ; //选择YP通道
rADCTSC = (1<<7)|(0<<6)|(0<<5)|(1<<4)|(1<<3)|(0<<2)|2 ; //Y测量模式:YM=GND, YP=V ,XM=Z, XP=AIN[7], PULL_UP=DISENBLE, NORMAL, Y-position (DISABLE=AIN/Z)
rADCCON|=0x1; //启动ADC
while(rADCCON & 0x1); //等待启动
while(!(rADCCON & 0x8000)); //等待是否转换完毕
y_tsc = rADCDAT1&0x3FF; //得到转换结果
tsc_int_init(); //触摸屏中断初始化
Delay(10);
while(!((rADCDAT0 & 0X8000) & (rADCDAT1 & 0X8000) ));//等待笔尖抬起
}
void lcd_init(void)
{
rGPCCON = 0xAAAAAAAA; //LCD功能
rGPDCON = 0xAAAAAAAA; //LCD功能
rGPGCON = rGPGCON & ~(3<<8) | 3<<8 ; //LCD电源功能
rLCDCON1 = rLCDCON1 & ~(0x3ff<<8) | CLKVAL<<8 ; //LCD频率
rLCDCON1 = rLCDCON1 & ~(0x3<<5) | PNRMODE<<5 ; //显示模式
rLCDCON1 = rLCDCON1 & ~(0xf<<1) | BPPMODE<<1 ; //BPP模式(每个像素用几位表示)
rLCDCON1 = rLCDCON1 & ~(1) | 0 ; //关闭输出
rLCDCON2 = rLCDCON2 & ~(0xff<<24) | VBPD<<24 ; //与LCD属性一致
rLCDCON2 = rLCDCON2 & ~(0x3ff<<14) | (LINEVAL-1)<<14 ; //垂直尺寸
rLCDCON2 = rLCDCON2 & ~(0xff<<6) | VFPD<<6 ; //与LCD属性一致
rLCDCON2 = rLCDCON2 & ~(0x3f) | VSPW ; //与LCD属性一致
rLCDCON3 = rLCDCON3 & ~(0x7f<<19) | HBPD<<19 ; //与LCD属性一致
rLCDCON3 = rLCDCON3 & ~(0x7ff<<8) | (HOZVAL-1)<<8 ; //水平尺寸
rLCDCON3 = rLCDCON3 & ~(0xff) | HFPD ; //与LCD属性一致
rLCDCON4 = rLCDCON4 & ~(0xff) | HSPW ; //与LCD属性一致
rLCDCON5 = rLCDCON5 & ~(1<<11) | FRM565<<11 ; //模式:565或5551
rLCDCON5 = rLCDCON5 & ~(1<<3) | PWREN<<3 ; //供电引脚使能 ( GPG4 )
rLCDCON5 = rLCDCON5 & ~(1<<1) | BSWP ; //字节是否交换
rLCDSADDR1 = rLCDSADDR1 & ~(0x1ff<<21) | ( ( (U32)pixel>>22 )&0x1ff )<<21 ; //缓存区首地址高位[30:22]->rLCDSADDR1[29:21]
rLCDSADDR1 = rLCDSADDR1 & ~(0x1fffff) | ( (U32)pixel>>1 )&0x1fffff ; //缓存区首地址低位[21:1]->rLCDSADDR1[20:0]
rLCDSADDR2 = rLCDSADDR2 & ~(0x1fffff) | ( ((U32)pixel+LINEVAL*HOZVAL*2)>>1 )&0x1fffff ; //缓存区(尾地址+1)低位[21:1]->rLCDSADDR2[20:0]
rLCDSADDR3 = rLCDSADDR3 & ~(0x7ff<<11) | OFFSIZE<<11 ; //虚拟屏幕偏移长度
rLCDSADDR3 = rLCDSADDR3 & ~(0x7ff) | PAGEWIDTH ; //虚拟屏幕宽度
rLCDCON1 = rLCDCON1 & ~(1) | ENVID ; //开启输出,这个要最后做,不然有问题
}
上一篇:2440裸机编程之十一 GPRS
史海拾趣
|
汽车的方便、舒适等都和车身电子控制技术密不可分,车身电子控制技术也日益引起业界重视。 目前国际上车身电子集成控制技术比较成熟,其中有代表性的公司有德科电子、博世、欧姆龙等,他们在电子控制ECU方面已经历经几十年的研发和生产,技术较 ...… 查看全部问答> |
|
提供基于Vxworks的各种PowerPC平台(MPC82XX/MPC85XX/MPC7448/AMCC440GX等) Beijing Freesense是专业PowerPC设计公司,提供基于Vxworks和Liunx的各种PowerPC平台(MPC82XX/MPC85XX/MPC7448/AMCC440GX等),提供设计开发服务。Tel: 010-82790138、13501394847,zhytang@freesense.com.cn… 查看全部问答> |
|
移动软件开发工程师 职位要求: 1、嵌入式平台(WinCE,平台),应用软件开发; 2、熟悉J2ME开发。 3、具有良好的团队精神。 4、一年以上WinCE平台开发经验。 请有意者将简历mail至 suntjl@sina.com ...… 查看全部问答> |
|
下面是nboot(steldr——boot)里关于休眠唤醒的处理代码 WAKEUP_POWER_OFF ; Release SCLKn after wake-up from the POWER_OFF mode. ldr r1, =MISCCR & ...… 查看全部问答> |
|
各位,我不是很清楚嵌入式系统,请问我们外面买的那些MP3/4属于嵌入式系统吗?还有一个问题,我在网上看到基本上嵌入式系统好像就分两种,什么LINUX和WINCE,怎么区分呢,我做MP3开发的,是C语言和汇编混合的,不知道这个是属于哪种呢?谢谢!… 查看全部问答> |
|
1. 智能电网。智能电网可能是本次FTF最为突出的主题,其实去年FTF也就在推这个理念,当然大家都相信智能电网是大势所趋,飞思卡尔在智能电表和集中器方面展示了解决方案,其中集中器用的就是传说中的MCF54418 ...… 查看全部问答> |




