历史上的今天
今天是:2025年04月26日(星期六)
2020年04月26日 | 云塔科技毫米波滤波器专利解密
2020-04-26 来源:爱集微
云塔电子科技有限公司作为国内为数不多的以射频滤波器和射频模组为产品方向的创业公司,已定型十数款滤波器产品并已陆续推出,尤其在SPD、LTCC、SAW和BAW领域均有技术储备,成为国内唯一拥有全类型滤波器研发、生产和供应能力的公司。
前不久,国内半导体厂商安徽云塔电子科技公司首次研制成功5G毫米波(mmWave)频段的微型化滤波器,工作于33GHz,带宽高达2GHz,带内插损小于2.7dB,带外抑制超过30dB,为我国5G产品在射频前端方面提供了强大的技术支持。
为接收与传输日益增大的数据流,下一代移动终端需要在更高的频段,如Sub6G和毫米波频段。在不增大手机体积的前提下处理如此高的频率,就必须有能处理高频率信号、小巧且耗能低的谐振器与滤波器,将其置于手机中不至于大量消耗电池的电量。现有的各种类型滤波器虽然有许多优越的性能,但仍存在诸多问题导致无法应用于毫米波段,同时各种庞大的数据流导致了越来越多的波段重叠冲撞。为解决这一问题,未来的滤波器应该更加灵活可变,以适应各种不同的波段组合。此外在极高频率下工作的滤波器,需要超薄的压电薄膜,这也限制了薄膜自身的硬度,为滤波器的实现带来极大挑战。
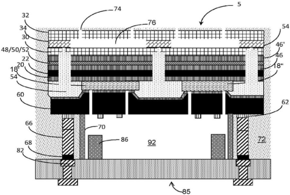
在这种条件下,早在2017年12月29日,安徽云塔科技的一个投资企业珠海晶讯公司就提出一项名为“射频谐振器与滤波器”的发明专利(申请号:201711482051.2),申请人为珠海晶讯聚震科技有限公司。
此专利提出一种滤波器封装元件,包括夹裹在上下电极之间的一组压电薄膜,其中单个压电薄膜和上电极被绝缘材料隔开,下电极连接至转接板,下电极和转接板之间大部分由第一腔体隔开。

图1 复合FBAR滤波器截面图
图1为复合FBAR滤波器的原理示意图,由若干半梯子型、半格子型的滤波器进行组合排列,以形成复合FBAR谐振器。如图2所示,左图的左半部分是一个半梯子型滤波器,由BAW谐振器通过串联与并联排列实现,给梯子型电路增加“阶梯”可增强其排除干扰频率的能力,使其产生更少带外抑制;左图的右半部分是“格子”型构造的谐振器,该滤波器裙边曲线过于平缓,但带外衰减更好。将两种滤波器进行组合,可发挥出二者优势,其频谱图如图2右侧,实现了更好的滤波特性。

图2 简化的格子/梯子复合型RF滤波器
在此专利中,使用BaxSr(1-x)TiO3(BST)材料构成压电薄膜,制备FBAR谐振器,由于这种材料的介电常数比AIN 高一到两个数量级,因此可以生产得到更高质量的滤波器,以更好地适配高频场景,此专利提出了特有的薄膜制备方式。相较晶格方位随机的薄膜,晶面分布同方向排列较强的单晶体BST薄膜具有更加平滑的表面。这一特性可以减少散射损失,提高Q因子。由于存在皮肤效应,粗糙的表面,尤其至于高频段下,是造成金属电极界面缺失的主要原因。因此,制造工艺为上电极与下电极双双沉积在具有单一方向性的单晶体薄膜,并且拥有平滑电极-压电界面的谐振器,具有非常大的优势。
参考图1,复合FBAR含有压电薄膜18,它被上电极22与下电极60像三明治一样夹裹在中间。当前的制造工艺是先沉积上电极22,再在其上沉积压电层18。此工艺要求电极22为质量较重的金属,且必须承受很高的沉积温度。然而,已经发现这种难熔金属与BST晶格失配,因此不能在单一方向上获得单晶体BaxSr(1-x)TiO3。此专利中提到电极22、60通过物理气相技术被双双沉积在压电薄膜18上。该工艺使质量较轻的金属,例如铝,亦可被用作电极材料,单独或与其他金属一起构建复合电极。铝的传导性能好,作为电极材料使用可降低电极厚度。另外铝比难熔金属密度小,用它做成的电极质量轻,阻尼效应小;采用它的谐振器在性能和耦合上将大大优于现有技术。
云塔电子科技有限公司作为国内为数不多的以射频滤波器和射频模组为产品方向的创业公司,已定型十数款滤波器产品并已陆续推出,尤其在SPD、LTCC、SAW和BAW领域均有技术储备,成为国内唯一拥有全类型滤波器研发、生产和供应能力的公司。在5G终端产品即将爆发性增长的阶段,云塔科技的滤波器产品有望打破国际巨头的绝对垄断局面。
史海拾趣
|
贴片式的MAX1898芯片在无PCB板的情况下如何焊接和调试呢? 想先用线搭个板子调试,单片机有管脚座,但是没想到MAX1898电源管理芯片那么小,放在2根牙签粗细的一个塑料管里,这要是我的焊接技术,所有管脚直接短接....有没有大虾介绍下经验阿.... [ 本帖最后由 zxpla 于 2010-4-15 12:54 编辑 ]… 查看全部问答> |
|
无线监控和传统的监控方案相比,具有以下三大优点: 1、综合成本低,只需一次性投资,无须挖沟埋管,特别适合室外距离较远及已装修好的场合;在许多情况下,用户往往由于受到地理环境和工作内容的限制,例如山地、港口和开阔地等特殊 ...… 查看全部问答> |
|
我把6张1600x1000的图PS成一张 1600x6000的,不知道什么的SHLoadImageFile加载位图都返回时空?我用一张一张加载都没问题。哪位能指点下呀!… 查看全部问答> |
|
网站被挂马,被入侵,相信这是很多站长的一个心病! 针对这个问题,国内几大idc主机提供商还没有找到解决方案! 为什么我的网站没有漏洞,还会被入侵?这个问题主要出现在服务器安全配置上! 攻击者一般都是跨站攻击,首先就是在同一个服务器 ...… 查看全部问答> |
|
将Altium.Designer09器件库中IC部分索引到一个pdf文件中,可以利用PDF阅读器的搜索功能搜索。 不知道有没有用途,反正我自己在用。 分卷压缩: https://download.eeworld.com.cn/detail/wangfuchong/13082 https://download.eeworld.com.cn/det ...… 查看全部问答> |




