历史上的今天
今天是:2024年09月22日(星期日)
2021年09月22日 | Tube-11双管振棒料位开关的巧妙设计
2021-09-22 来源:eefocus
振动式料位开关多用于控制和检测料仓或容器中的固体颗粒或粉末状物料,特别适用于易形成挂料、夹料的物质以及流动性较差的物质。
目前,在国外有一种振动料位检测装置,(如图1),该装置为了使内外振动体工作在同一谐振频率上,在内振动体上设置一可沿振动体的纵向方向移动的质量块作为调整体,该质量块的位置改变内振动体的质量分布,从而改变内振动体的自由谐振频率,最终使内振动体的自由谐振频率与外振动体的自由谐振频率一致,使外振动体和内振动体产生最强烈共鸣。

图1
质量块起作用的前提条件是必须要保证质量块与内振动体连接具有足够刚性,为了实现刚性连接,该质量块的下端设有弹性开口,并保证弹性开口的弹力足够大。这种振动料位检测装置在安装调试质量块位置时,利用细小螺丝刀从物位装置的上端同时穿过压电组件中心开孔和振动体过渡装置的中心孔,伸进内振动体中对质量块进行旋转来调试其位置。
但该结构存在以下几个方面的问题:
1、其需要从上端穿过压电组件中心孔和振动体过渡装置的中心孔来调试质量块位置,要求螺丝刀直径细小而且长度较长,由于质量块设有弹性开口的下端在松弛状态下其外径大于内振动体内腔的内径,同时为了实现刚性连接,其弹性开口的弹力较大,使得螺丝刀旋转质量块的力矩要求很大,旋动异常困难、甚至不可能;
2、由于弹性开口设在质量块下端,因此质量块的移动方向只能由下向上单向移动。这是因为质量块的下端在松弛状态下外径大于内振动体内腔的内径,如果质量块朝下移动,弹性开口一端将与内振动体内腔产生较大摩擦力,使弹性开口进一步张大,完全阻碍质量块的移动,可见,其质量块无法实现双向灵活调整,一旦质量块单向调整位置超过正常应有的位置,就无法可逆退回,从而造成废品。
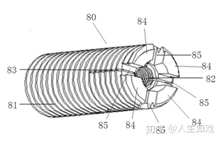
深圳计为自动化技术有限公司研发工程师在多次试验的基础上,对现有的双管振棒料位开关的结构做出了改进(如图2),该质量块螺接在振动内管内,质量块的胀紧部上的凹槽或凸起可与其他部件配合用来旋转质量块,从而调整质量块在振动内管内的位置。而当胀紧螺栓相对质量块旋入到一定的深度可使质量块上的胀紧部撑开,从而很容易实现质量块与振动内管的刚性连接,而在胀紧螺栓未使胀紧部膨胀前,质量块通过外螺纹与振动内管的内螺纹螺接,因此质量块在振动内管内能够很方便的实现双向可逆任意调试。

图2
实践证明,该改进不仅能实现质量块双向调试,而且调试过程变得简单,效率更高,产品质量也更为稳定可靠。计为自动化成功为该设计申请了发明专利。
上一篇:浅谈物位测量产品的IP防护等级
史海拾趣
|
基于单片机的超声波测距系统,采用测量输出脉冲宽度,即发射与接收超声波的时间间隔,通过对单片机 适时控制外围电路,并向外围电路提供频率振荡、数据处理和译码显示等信号。该超声波发射电路包括门控电路(RS 触发器)及微分/整形电路,接收电 ...… 查看全部问答> |
|
写一些实践过程中的心得 ISE调用Modelsim设置 软件版本为:ISE10.1和ModelSim6.2b。先安装的ISE,然后安装的ModelSim。若想通过ISE调用Modelsim进行仿真,其步骤如下: 1.首先将modelsim.ini文件只读模式去掉。 2.在ise安装目录下,进入bin\\nt ...… 查看全部问答> |
|
WINCE下可以运行skype 1.2了 虽然出现很多错误 AKY=00000081 PC=03fb4a84(coredll.dll+0x00044a84) RA=80334f88(NK.EXE+0x00134f88) BVA=00000001 FSR=00000001 但是还是可以login了 连接那个测试,可以听到声音,但是不能录音??这个是怎么回事 ...… 查看全部问答> |
|
本人做工控项目,需要让DSP联网,但是对网络部分不是很熟悉,在深圳找了几家做这个的,都是单片机的。速度很慢,丢包很严重,没法用,老大直接说垃圾要换掉,因为项目需要稳定的传送数据包,时间要6月底出来。最后拿了个ZLG的ARM做的串口转以太网的 ...… 查看全部问答> |
|
来源:http://www.cyclone.com.cn/fwjswd.asp 1、TI公司的仿真器同CY仿真器的区别? 答:1)CY-XDS同TI的XDS-510完全兼容,可以完全替代XDS-510。 2)CY-XDSPP同TI的XDS-510PP完全兼容,可以完全替代XDS-510PP。 3)CY-仿真器具有TIF仿真器的全部功 ...… 查看全部问答> |
|
一、LED灯受环境因素影响而损坏: 安装在路边或桥梁上的灯具会受到不同震动影响,震动源来自过往的车辆,特别是过往的重载车辆。当灯具中某个元器件或某处与外部振动源发生共振,会产生对元器件或电路的破坏。由于此灯具中的所有LED及电阻是串连工作 ...… 查看全部问答> |
|
本人大三学生一枚,跟着老师学DSP,老师要我买DSP开发板,说5509芯片的,但我是新手用5509入门是不是太难? 但是我老师说28的芯片过时了,到底怎么选择呢? 求各路大神指教!急! … 查看全部问答> |




