历史上的今天
今天是:2024年09月22日(星期日)
2021年09月22日 | 新工艺与结构在磁翻板液位计中的应用
2021-09-22 来源:eefocus
磁翻板液位计可用于各种塔、罐、槽等设备的介质液位检测。一般地,磁翻板液位计的安装方式有多种,而顶装磁翻板液位计是常见的一种方式。通常,顶装磁翻板液位计是安装在地埋罐,或者在容器不适宜侧面开孔及侧面安装空间很小时选用。顶装磁翻板液位计的浮筒内设有磁浮子,该浮筒外设有磁翻板指示器,该磁翻板指示器和该磁浮子磁性耦合,通过耦合作用,当容器中被测液位升降时,浮筒内的磁浮子也随之升降,浮子内的永久磁钢通过磁性耦合驱动浮筒外部的磁性翻片翻转180°。翻片两面分别涂有不同颜色(通常为红色和白色),以指示液位的位置。一般地,当容器内液位上升时,翻片由白色转变为红色,当容器内液位下降时,翻片由红色转变为白色,指示器的红白交界处为容器内液位的实际高度。
浮筒、容器以及连接用的法兰等通常使用金属材料,当被测液体为腐蚀性液体时,通常需要采用内衬设计,以防止被测液体腐蚀浮筒或者连接法兰,从而造成生产安全事故。现有顶装式磁翻板液位计中,浮筒内的内衬通常采用翻边工艺,在浮筒靠近容器的一端形成一个环形翻折部,但受限于浮筒形状、尺寸以及内衬材料的尺寸和特性影响,该翻折部的翻边密封面无法做到很大,加上容器开口通常是大于该翻折部所覆盖的区域,因此造成了容器开口与翻折部以外的金属面(如法兰的表面)相通,从而容易导致这些金属面受腐蚀,极易造成生产安全事故,给生产带来麻烦。
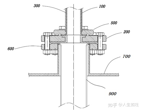
针对这一问题,计为自动化研发工程师在多次试验的基础上,对现有的内衬工艺与结构做了改进,发明了顶装式磁翻板液位计的一种新工艺及其结构,如下图所示,其提供了第一连接件和连接内衬。该连接内衬具有用于连通内衬连接口的第一连接口、自第一连接口向外成环形设置的第一密封部、用于与被测容器连通的第二连接口和自第二连接口向外成环形设置的第二密封部。由于该第一连接件和连接内衬为单独设置,可以单独制造,因此第一密封部和第二密封部可以制作的足够大,从而实现第一密封部与浮筒内衬的翻折部密封抵接;同时,连接内衬的第二密封部用于与容器实现密封连接。由此,该连接内衬可以与浮筒内衬和容器开口内的护筒形成完全密封的连接,从而避免连接处的金属面受腐蚀,导致生产安全事故的发生。

实践证明,该新型内衬工艺有效避免了上述问题,极大提高了产品的可靠性,赢得了用户的一致赞誉。
下一篇:浮球液位计全方位剖析
史海拾趣
|
在VC6的 IDE 中利用 Visual Assistant 的 Win32 Standard application 模板,写一个类名,例如“myclass”,就可以编译通过并正常运行了: #include LRESULT CALLBACK WndProc (HWND hwnd, UINT message, WPARAM wParam, LPARAM lParam); int WINA ...… 查看全部问答> |
|
error A17: INVALID BYTE BASE IN BIT ADDRESS EXPRESSION是什么意思 我的程序在编译时出现以上的错误:无效的字节数基于位地址溢出?是不是大概是这样的意思? … 查看全部问答> |
|
各位大哥: 没有用过ADS1210/1211 IC,我按照手册编程总是采集不到数据,不知道怎么回事。求求各位大哥 帮帮忙,提供一个C的范例。谢谢!我采用的四线10MHZ晶振,DRDY SCLK SDIO SDOUT。 … 查看全部问答> |
|
各位vxworks界的大侠们,谁会编写vxworks下的声卡驱动啊?安装目录下的Drv文件下的sound文件夹中的那些可以直接拿来做声卡的驱动吗? 在www.pudn.com上搜到一个名为VxWorks_SoundBlaster16.rar的东东,但是人家不让下载,注册之后都不够资格,只好 ...… 查看全部问答> |
|
为什么我的Q2406B在超级终端下不能输入其自带的TCP/IP协议栈?比如 AT#CONNECTIONSTART,刚开始研究,不知道该怎么搞,请指条明道。… 查看全部问答> |
|
請問如何重編包含mdarm.c 位在C:\\WINCE420\\PRIVATE\\WINCEOS\\COREOS\\NK\\KERNEL\\ARM\\… 查看全部问答> |
|
void AVjustVol(u8 Volume) { u8 i; Volume=87-Volume; VolDate=(u16)(Volume&0x7c); //装入衰减数; 双声道都有; VolDate=VolDate|(u16)((Volume&0x03)<<7); / ...… 查看全部问答> |




