历史上的今天
今天是:2024年09月26日(星期四)
2021年09月26日 | 振棒料位开关的独特结构
2021-09-26 来源:eefocus
在现代化的工农业生产中,经常要对塑胶颗粒、煤粉、谷物、面粉等颗粒或粉末状固体的储存量进行控制,而且往往需要检测出物位的准确位置。
振动式料位开关是压电元件与机械共振结构所组成的高灵敏度的振动式物位开关。其由控制电路输出电压信号,激励压电元件驱动相匹配的机械元件产生谐振,并传递到检测探头。当被测物料覆盖在振动中的检测探头时,由于物料产生的阻尼作用,使其振动幅度急剧减少,通过检测接收器,将这种机械振动变化的信息转换为电信号,并传递给控制电路,实现对物料位置的测量和控制。这一类振动式料位开关多适用于控制和检测料仓或容器中的固体颗粒或粉末状物料,特别适用于易形成挂料、夹料的物质以及流动性较差的物质。

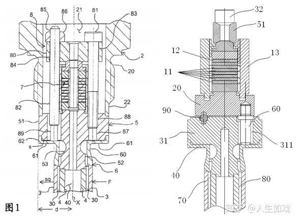
现有的一种振动式料位开关中采用双管振动结构(如图1),在压电陶瓷片的激励下振动,并经一拉紧杆传递给膜片,膜片将振动传递到振动外管,在谐振条件下,振动外管和振动内管发生共振;当振动外管受到物料的阻尼时负载变大,与振动内管无法产生谐振,振动停止,压电组件检测到该变化,转换为控制电路输出,作为物料有无的检测。但遗憾的是,这种现有技术中存在以下缺陷:
现有双管振动结构中,驱动压电陶瓷通过逆压电效应发生收缩膨胀产生振动,振动通过拉紧、桥接块和压紧件传递到膜片和振动外管上,从而使得振动外管起振,振动外管的振动导致振动内管产生共鸣振动,并在当双管自由振动频率一致时,双管产生共振。当振动通过拉紧杆进行传递时,由于拉紧杆与压电组件之间没有间隙或间隙很小,容易导致振动摩擦,振动摩擦将导致振动能量的损失,振动能量的损失又会使得振动变得微弱或无法振动,进而影响到振动特性,从而影响振动装置的可靠性和使用的寿命。

图1图2
深圳计为自动化技术有限公司研发工程师在多次试验的基础上,对现有的双管振棒料位开关的结构做出了改进(如图2),该振动结构包括压电组件、下桥接块、过渡体、膜片、压紧件和定位机构等。该压电组件抵接在下桥接块上,将其产生的振动传递到下桥接块。过渡体与压电组件以及过渡体与下桥接块之间均具有间隙,并通过一支撑体对下桥接块进行支撑和定位。膜片固定套设在过渡体上,压紧件的一端与下桥接块固定,另一端抵紧膜片,将下桥接块的振动传递至膜片。定位机构抵接压电组件的上端,通过抵接将压电组件压紧在下桥接块上。过渡体与压电组件、下桥接块和压紧件之间均存在间隙,因此不会对压电组件产生的振动及振动的传递产生影响,从而保证振棒料位开关的可靠性和使用寿命。
实践证明,该改进不仅能有效避免振动能量的损失,而且结构更加简单合理。计为自动化现已成功为该设计申请了发明专利。
下一篇:超声波物位计应用的局限性
史海拾趣
|
我的电路图如下,其中稳压管是Vz=30V,做实验时发现随着输入电压(集电极电压)的增加,基极电压不变,射级电压缓慢增加,Vbe逐渐减小,当Vc升到40+时,Vbe竟然变成负的(Vb约30V,Ve=30.5V),我的三极管型号是MJH11022。为啥我的管子Vbe会变成负 ...… 查看全部问答> |
|
期末了,老师让我们写一片论文,题目是《加速度测量方法综述》,这门课的名字是《传感器原理及工程应用》,学的是很基本的传感器,但现在论文是要写这个,不会写~~,请高手指点!!大致内容说白了就是用各种各样的传感器来测量加速度。 大家给点资 ...… 查看全部问答> |
|
本帖最后由 dontium 于 2015-1-23 13:40 编辑 具有SNRBoost 技术的最低功耗 11 位 200 MSPS ADC 4 通道、双通道与缓冲单通道选项 德州仪器 (TI) ADS58C48 系列是业界最低功耗的 11 位 ADC,速率高达 200 MSPS。 ...… 查看全部问答> |
|
STM32F串口出现奇怪现象,是不是串口收发器BUG,望高手指点 大家好,我用的是红牛开发板,CPU型号是STM32F103ZE,在进行串口实验时,STM32会将收到的数据原封不动的发送回来。在实验中,如果发送的数据不是0x00,收发正确,即串口发送什么东西,STM32都会正确接收,并回复给串口助手,串口助手也能正确 ...… 查看全部问答> |




