固态继电器应用电路之三相交流电机正反转控制
2025-02-06 来源:elecfans
控制三相交流电机的正反转通常需要使用逆变器或特定的控制器来实现。以下是一种常见的方法来控制三相交流电机的正反转:
1. 逆变器控制:逆变器是用来将直流电转换为交流电的装置,通过逆变器可以实现三相交流电机的正反转。逆变器通常包括功率器件(如晶闸管、IGBT 等)、控制电路和触发电路等。
2. 控制信号:控制三相交流电机正反转需要通过控制信号来控制逆变器的输出。通常使用一个控制器或者 PLC(可编程逻辑控制器)来生成控制信号,控制逆变器的工作。
3. 正转控制:当需要让电机正转时,控制器发送正转指令给逆变器,逆变器输出合适的三相交流电压和频率,使得电机按照设定方向旋转。
4. 反转控制:当需要让电机反转时,控制器发送反转指令给逆变器,逆变器输出相反的三相交流电压和频率,使得电机按照相反方向旋转。
5. 速度控制:在实际应用中,除了实现正反转外,通常还需要实现对电机的速度控制。可以通过调节逆变器输出的频率和电压来实现电机的速度调节。
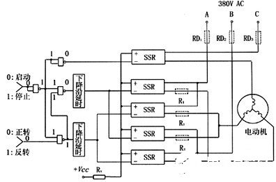
计算机控制三相交流电机正反转的接口及驱动电路,图中采用了4个与非门,用二个信号通道分别控制电动机的起动、停止和正转、反转。当改变电动机转动方向时,给出指令信号的顺序应是“停止—反转—起动”或“停止—正转—起动”。延时电路的最小延时不小于1.5个交流电源周期。其中RD1、RD2、RD3为熔断器。
当电机允许时,可以在R1-R4位置接入限流电阻,以防止当万一两线间的任意二只继电器均误接通时,限制产生的半周线间短路电流不超过继电器所能承受的浪涌电流,从而避免烧毁继电器等事故,确保安全性;但副作用是正常工作时电阻上将产生压降和功耗。该电路建议采用额定电压为660 V或更高一点的SSR产品。

图 三相交流电机正反转控制电路
需要注意的是,控制三相交流电机的正反转涉及到电气控制、通信控制和电机控制等多个方面,因此在实际操作中需要注意相关的安全措施和控制逻辑设计。对于更复杂的控制需求,还可以考虑使用专用的电机驱动器或者其他控制设备来实现更灵活、精确的控制。
- 嵌入式的风向变了:2026纽伦堡嵌入式展透露这些趋势
- 高通确认不在GDC 2026发布新款骁龙G系列掌机处理器SoC
- 行业评论 从工具到平台:如何化解跨架构时代的工程开发和管理难题
- 阿里达摩院发布玄铁C950,打破全球RISC-V CPU性能纪录
- 面向嵌入式部署的神经网络优化:模型压缩深度解析
- Mujoco中添加Apriltag标签并实现相机识别教程
- 摩尔线程MTT S5000全面适配Qwen3.5三款新模型
- 英飞凌与宝马集团携手合作,基于Neue Klasse架构塑造软件定义汽车的未来
- 物理AI仿真新突破:摩尔线程与五一视界共建全栈国产化生态
- 爆火的OpenClaw! 告别云端,米尔RK3576开发板本地部署
- Altera 与 Arm 深化合作,共筑 AI 数据中心高效可编程新方案
- 莱迪思加入英伟达 Halos生态系统,通过Holoscan传感器桥接技术提升物理人工智能安全性
- 芯科科技闪耀2026嵌入式世界展 以Connected Intelligence赋能,构建边缘智能网联新生态
- 边缘计算主机盒选购指南:五大核心指标解析
- Arm AGI CPU 更多细节:台积电 3nm 制程、Neoverse V3 微架构
- Arm AGI CPU 重磅发布:构筑代理式 AI 云时代的芯片基石
- Arm 拓展其计算平台矩阵,首次跨足芯片产品
- 阿里达摩院发布RISC-V CPU玄铁C950,首次原生支持千亿参数大模型
- 边缘 AI 加速的 Arm® Cortex® ‑M0+ MCU 如何为电子产品注入更强智能




