一文读懂工业自动化常见传感器种类、原理,非常详细
2025-10-09 来源:elecfans
一种检测装置,能感受到被测量的信息,并能将感受到的信息,按一定规律变换成为电信号或其他所需形式的信息输出,以满足信息的传输、处理、存储、显示、记录和控制等要求。

一、工作原理 传感器一般由敏感元件、转换元件、变换电路和辅助电源四部分组成。
1.敏感元件直接感受被测量,并输出与被测量有确定关系的物理量信号;2.转换元件将敏感元件输出的物理量信号转换为电信号;3.变换电路负责对转换元件输出的电信号进行放大调制;4.转换元件和变换电路一般还需要辅助电源供电。 二、人类五官与传感器
三、传感器分类 1.敏感元件的分类:物理类,基于力、热、光、电、磁和声等物理效应。化学类,基于化学反应的原理。生物类,基于酶、抗体、和激素等分子识别功能。通常据其基本感知功能可分为热敏元件、光敏元件、气敏元件、力敏元件、磁敏元件、湿敏元件、声敏元件、放射线敏感元件、色敏元件和味敏元件等十大类。2.按用途:压力敏和力敏传感器、位置传感器、液位传感器、能耗传感器、速度传感器、加速度传感器、射线辐射传感器、热敏传感器。3.按输出信号模拟传感器:将被测量的非电学量转换成模拟电信号。数字传感器:将被测量的非电学量转换成数字输出信号(包括直接和间接转换)。开关传感器:当一个被测量的信号达到某个特定的阈值时,传感器相应地输出一个设定的低电平或高电平信号。4.按其构成基本型传感器:是一种最基本的单个变换装置。组合型传感器:是由不同单个变换装置组合而构成的传感器。应用型传感器:是基本型传感器或组合型传感器与其他机构组合而构成的传感器。 四、接近传感器 又称接近开关是一种无需与运动部件进行机械直接接触而可以操作的位置开关,当物体接近开关的感应面到动作距离时,不需要机械接触及施加任何压力即可使开关动作,从而驱动直流电器或给计算机(plc)装置提供控制指令。 接近开关是种开关型传感器(即无触点开关),它既有行程开关、微动开关的特性,同时具有传感性能,且动作可靠,性能稳定,频率响应快,应用寿命长,抗干扰能力强等、并具有防水、防震、耐腐蚀等特点。 接近开关分类:1)电感式接近开关2)电容式接近开关3)霍尔式接近开关4)舌簧式接近开关4.1 电感式接近开关 原理:由电感线圈和电容及晶体管组成振荡器,并产生一个交变磁场,当有金属物体接近这一磁场时就会在金属物体内产生涡流,从而导致振荡停止,这种变化被后极放大处理后转换成晶体管开关信号输出。
特点:1.抗干扰性能好,开关频率高,大于200HZ.2.只能感应金属应用在各种机械设备上作位置检测、计数信号拾取等。
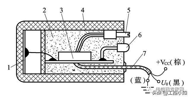
4.2 电容式接近开关 原理:电容式接近开关的测量端是构成电容器的一个极板,而另一个极板是开关的外壳。当有物体移向电容式接近开关时,无论该物体是否导电,由于它的介电常数总会不同于原来的环境介质(空气、水、油等),使得电容量发生变化,从而使得开关内部电路参数发生变化,由此识别出有无物体接近,进而控制开关的通或断。
▲圆柱形电容式接近开关结构示意图 特点:不但能检测金属,还能检测塑料,玻璃,水,油等物质。易受干扰,注意安装位置。感应距离可调整。频率约50HZ. 应用:依据其特点,特别适合于非金属物的检测,如食品、化工等行业电容式接近开关对任何介质都可检测,包括导体、半导体、绝缘体,甚至可以用于检测液体和粉末状物料。 4.3 霍尔式接近开关 当一块通有电流的金属或半导体薄片垂直地放在磁场中时,薄片的两端就会产生电位差,这种现象就称为霍尔效应。两端具有的电位差值称为霍尔电势U.这种接近开关的检测对象必须是磁性物体。
4.4 舌簧式接近开关 舌簧接近开关又称磁性开关当磁性物件移近时舌簧闭合,使开关内部电路状态发生变化,由此识别附近有磁性物体存在,进而控制开关的通或断。适用于气动、液动、汽缸和活塞的位置测定。 这种接近开关的检测对象必须是磁性物体。
4.5 接近开关的应用



五、接近开关参数 检测距离:传感器能检测到物体的最大距离。电源范围:在此范围内传感器能正常工作的电源电压。输出电流:传感器能提供给负载的最大电流。输出压降:传感器输出时自身所占的电压降。响应频率:传感器最大每秒可以检测多少次物体。回差范围:检测到物体时,拉远检测到检测不到时之间的距离,一般以检测距离的百分比表示。消耗电流:传感器没有输出时所消耗的电流。重复精度:传感器多次检测距离之间的差别。短路保护电流:当输出负载短路或太大时,输出电流达到短路保护电流时,传感器将处于保护状态。 5.1 回差的距离 如没有回差的话,接近动作距离时就会发生反复ON/OFF的来回转换的现象。一般回差距离控制在检测距离的5-15%以内。
六、光学传感器 6.1 光电开关分类 1)对射式光电开关2)漫反射式光电开关3)反馈反射式光电开关4)定距离式光电开关5)色标传感器6.2 对射型光电开关 特点:检测距离较长。投光器/受光器两者都需要
6.3 U型(槽型)光电开关 U型光电是把接收和发射做在一起的对射型光电。由于发射和接收做在了一起,安装适用非常实用方便。
U型(槽型)光电开关应用

6.4 漫反射型光电开关 漫反射光电开关是一种集发射器和接收器于一体的传感器。当有被检测物体经过时,将光电开关发射器发射的足够量的光线反射到接收器,于是光电开关就产生了开关信号。 特点:检测距离短。只需在一处配线,无需反射板。有投光/受光二个透镜。
6.5 反馈反射型光电开关 集发射器与接收器于一体。光电开关发射器发出的光线经过专用反射镜,反射回接收器,当被检测物体经过且完全阻断光线时,光电开关就产生了检测开关信号。 特点:检测距离小于对射型。只需在一处配线,反射板在光的入射方向上形成反射光光轴对合方便。
6.6 定距离式光电开关 特点:工作原理类似于漫反射式光电开关,其投光器与受光器置于一体,只有当物体出现在聚焦点时,光电开关才会有动作。
6.7 色标传感器 特点:用来区分颜色,常用于检测标识。与扩散反射型一样,只需在一处配线,无需反射板。 色标传感器工作原理:以不同颜色物体的发射率差作为检测原理。
6.8 光纤与光电传感器 1、光电传感器:是采用光电元件作为检测元件的传感器。它首先把被测量的变化转换成光信号的变化,然后借助光电元件进一步将光信号转换成电信号。光电传感器一般由光源、光学通路和光电元件三部分组成。 2、光纤传感器:是将来自光源的光经过光纤送入调制器,使待测参数与进入调制区的光相互作用后,导致光的光学性质(如光的强度、波长、频率、相位、偏正态等)发生变化,称为被调制的信号光,在经过光纤送入光探测器,经解调后,获得被测参数。 3、其实光纤传感器应该属于光电传感器中的一种,相对来说,光纤传感器通常比普通的光电传感器的精度要高,普通的光电传感器是指传感器上直接发光、收光,由于光的扩散等原因,收光量的大小无法精确控制,即导致检测的精度无法提高精度,而光纤传感器通过光纤线传输光线,提高光束的聚拢程度,易判断收光量的大小,检测精度要高。 七、光电开关的安装 1、光电开关可根据现场环境进行安装。产品的测量精度与安装是否恰当有很大关系。
2、光在发射时会有发散现象,即有一个指向角,检测物或接收器在一定范围内都会接受到光,在安装时,要注意该项指标,避免产生测量误差。
3. 漫反射式光电开关发出的光线,需要被检测物表面将足够的光线反射回漫反射开关的接受器,所以检测距离和被检测物体的表面反射率将是决定接受器接收到光线的强度大小,粗糙的表面反射回的光线必将小于光滑表面反射回的强度。在安装时,要注意被测物体表面的反射率。
4.光电开关的应用环境也是影响其长期工作稳定、可靠的重要条件。当光电开关工作在最大检测距离状态时,由于光学透镜会被环境污染,甚至会被强酸性物质腐蚀,会降低使用参数特性,会造成可靠性降低。在应用中,比较简便的解决方法是根据光电开关的最大检测距离(Sn)降额使用,来保证最佳工作距离。 八、传感器的接线方式 8.1 两线输出 特点:接线简单,客户负载可以串接在两根输出线中的任意一根上。交流型不分正负极随便接,直流棕线接正、蓝线接负。
8.2 三线 PNP 输出(常开)特点:相对于两线工作更稳定可靠。

8.3 三线 PNP输出(常闭)

8.4 三线 NPN输出(常开)
8.5 三线 NPN输出(常闭)

8.6 四线 NPN一开一闭输出 特点:多功能输出,接线灵活方便,可同时接两个负载也可接任意一个负载。
九、光电开关的使用注意事项 1.采用反射型光电传感器时,检测物体的表面和大小对检测距离和动作区域都有影响。2. 检测微小物体时,要比检测较大物体时的灵敏度小,检测距离小一些。3.检测物体的表面的反射率越大,检测灵敏度越高,检测距离较大。4.采用反射型光电传感器时,最小检测物体的大小由透镜直径来决定。5.检测凹凸、等级时反射型光电传感器最合适。6.防止光电开关之间相互干扰。7. 高压线,动力线与光电传感器的配线,应分 开走线,否则会受到感应造成误动作。
8 .电源电压应在规定的使用范围内使用 。
9. 请勿用在灰尘较多、腐蚀性气体较多、水、油、药剂直接溅散的场所使用,室外式太阳等有强光直射的场所。
10. 使用时应在规定的环境温度范围内 使用。11. 安装时要稳固,不能产生松动或偏斜。
12. 安装光电传感器时,不能损坏发射器件或接受器件。
- ams OSRAM发布AS5173磁位置传感器 强化底盘位置感知
- 英迪芯微打破国外垄断!中国首款集成高精度温度传感器的无变压器倒车雷达芯片iND24003,重构行业格局!
- 美新半导体与天奇银河机器人达成合作,共促智能机器人在传感器制造领域的应用
- 港科大研发双模态触觉传感器阵列,让机器人拥有人类般“指尖触觉”
- 南芯科技推出大带宽高精度集成式电流传感器,进军磁传感市场
- 突破具身智能落地瓶颈:辛米尔发布空间智能传感器SensorX
- 自动驾驶占用网络是依靠哪个传感器实现的?
- Altera 25G Holoscan 传感器桥接器演示荣获Embedded Computing Design最佳展品奖
- 思特威推出全新1200万像素AI眼镜应用CMOS图像传感器
- Vishay推出透射式传感器,为工业和消费电子应用提供更大设计灵活性
- 嵌入式的风向变了:2026纽伦堡嵌入式展透露这些趋势
- 高通确认不在GDC 2026发布新款骁龙G系列掌机处理器SoC
- 行业评论 从工具到平台:如何化解跨架构时代的工程开发和管理难题
- 面向嵌入式部署的神经网络优化:模型压缩深度解析
- 摩尔线程MTT S5000全面适配Qwen3.5三款新模型
- Mujoco中添加Apriltag标签并实现相机识别教程
- 英飞凌与宝马集团携手合作,基于Neue Klasse架构塑造软件定义汽车的未来
- 阿里达摩院发布玄铁C950,打破全球RISC-V CPU性能纪录
- 物理AI仿真新突破:摩尔线程与五一视界共建全栈国产化生态
- 爆火的OpenClaw! 告别云端,米尔RK3576开发板本地部署
- 边缘计算主机盒选购指南:五大核心指标解析
- Arm AGI CPU 更多细节:台积电 3nm 制程、Neoverse V3 微架构
- Arm AGI CPU 重磅发布:构筑代理式 AI 云时代的芯片基石
- Arm 拓展其计算平台矩阵,首次跨足芯片产品
- 阿里达摩院发布RISC-V CPU玄铁C950,首次原生支持千亿参数大模型
- 边缘 AI 加速的 Arm® Cortex® ‑M0+ MCU 如何为电子产品注入更强智能
- 阿里达摩院发布玄铁C950,打破全球RISC-V CPU性能纪录
- VPU中的“六边形战士”:安谋科技Arm China发布“玲珑”V560/V760 VPU IP
- 利用锚定可信平台模块(TPM)的FPGA构建人形机器人安全




