DRV8334三相智能栅极驱动器技术文档总结
2025-10-13 来源:elecfans
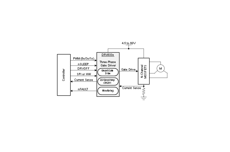
该DRV8334是一款用于三相BLDC应用的集成智能栅极驱动器。该器件提供三个半桥栅极驱动器,每个驱动器能够驱动高侧和低侧 N 沟道功率 MOSFET。该DRV8334使用集成自举二极管和GVDD电荷泵产生正确的栅极驱动电压。智能栅极驱动架构支持可配置的峰值栅极驱动电流,从 0.8mA 到 1A 源极和 2A 灌电流。该DRV8334可以使用具有 4.5 至 60V 宽输入范围的单个电源供电。涓流电荷泵可实现100%PWM占空比控制,并为外部开关提供过载电源电压。
该DRV8334提供低侧电流检测放大器,以支持基于电阻的低侧电流检测。放大器的低失调使系统能够获得精确的电机电流测量。
DRV8334中集成了广泛的诊断和保护功能,可实现稳健的电机驱动系统设计,并有助于消除对外部组件的需求。高度可配置的器件响应使器件能够无缝集成到各种系统设计中。
特性
三相半桥栅极驱动器
驱动六个 N 沟道 MOSFET (NMOS)
4.5 至 60V 宽工作电压范围
用于高侧栅极驱动器的自举架构
强大的GVDD电荷泵,支持高达50mA的平均栅极开关电流,可在20kHz时驱动400nC MOSFET
涓流电荷泵,支持 100% PWM 占空比,并产生过载电源以驱动外部保护电路
智能门驱动架构
45 级可配置峰值栅极驱动电流,高达 1000 / 2000mA(源极/灌电流)
三步动态驱动电流控制
可配置的软关断,以最大限度地减少过流关断期间的感性电压尖峰
低侧电流检测放大器
在整个温度范围内低于1mV的低输入失调
9级可调增益
基于 SPI 的详细配置和诊断
DRVOFF 引脚用于独立禁用驱动程序
高压唤醒引脚 (nSLEEP)
6x、3x、1x 和独立 PWM 模式
支持 3.3V 和 5V 逻辑输入
集成保护功能
电池和电源电压监控器
相位反馈比较器
MOSFET、VDS和Rsense过流监测器
MOSFET VGS 栅极故障监控器
设备热警告和关机
故障状态指示器引脚
参数

方框图

1. 核心功能
三相半桥栅极驱动:支持6个N沟道MOSFET驱动,工作电压范围4.5-60V,集成自举架构和GVDD电荷泵,可提供高达1000/2000mA(源/吸)的可配置峰值驱动电流。
智能栅极驱动技术:45级可调驱动电流、三阶动态电流控制、软关断功能以减少电感电压尖峰。
低边电流检测放大器:温度范围内输入偏移<1mV,9级可调增益,支持高精度电机电流测量。
2. 关键特性
集成保护功能:包括电源电压监控、MOSFET VDS/VGS故障检测、热警告/关断等。
通信接口:基于SPI的详细配置与诊断,支持3.3V/5V逻辑输入。
工作模式:支持6x/3x/1x PWM及独立PWM模式,适用于BLDC/PMSM电机控制。
3. 应用领域
家电、电动工具、园林设备(如割草机)
无人机、工业机器人、电动自行车/滑板车
风扇、泵、伺服驱动及真空吸尘器等
4. 技术细节
电源管理:集成GVDD电荷泵/LDO(12V输出)、VCP涓流电荷泵(支持100%占空比)。
保护机制:VDS过流监测(阈值可编程)、VGS栅极故障检测、多级温度保护(OTW/OTSD)。
封装选项:48引脚HTQFP(9x9mm)和QFN(7x7mm),带散热焊盘。
5. 文档结构
包含特性描述、引脚定义、电气参数(绝对最大额定值、时序要求)、寄存器映射(状态与控制寄存器)及典型应用电路设计指南。
6. 附加说明
提供详细的布局建议(如缩短栅极走线、优化电容放置)和外部元件选型表(如自举电容、电流检测电阻)。
- 嵌入式的风向变了:2026纽伦堡嵌入式展透露这些趋势
- 高通确认不在GDC 2026发布新款骁龙G系列掌机处理器SoC
- 行业评论 从工具到平台:如何化解跨架构时代的工程开发和管理难题
- 面向嵌入式部署的神经网络优化:模型压缩深度解析
- 摩尔线程MTT S5000全面适配Qwen3.5三款新模型
- Mujoco中添加Apriltag标签并实现相机识别教程
- 英飞凌与宝马集团携手合作,基于Neue Klasse架构塑造软件定义汽车的未来
- 阿里达摩院发布玄铁C950,打破全球RISC-V CPU性能纪录
- 物理AI仿真新突破:摩尔线程与五一视界共建全栈国产化生态
- 爆火的OpenClaw! 告别云端,米尔RK3576开发板本地部署
- 边缘计算主机盒选购指南:五大核心指标解析
- Arm AGI CPU 更多细节:台积电 3nm 制程、Neoverse V3 微架构
- Arm AGI CPU 重磅发布:构筑代理式 AI 云时代的芯片基石
- Arm 拓展其计算平台矩阵,首次跨足芯片产品
- 阿里达摩院发布RISC-V CPU玄铁C950,首次原生支持千亿参数大模型
- 边缘 AI 加速的 Arm® Cortex® ‑M0+ MCU 如何为电子产品注入更强智能
- 阿里达摩院发布玄铁C950,打破全球RISC-V CPU性能纪录
- VPU中的“六边形战士”:安谋科技Arm China发布“玲珑”V560/V760 VPU IP
- 利用锚定可信平台模块(TPM)的FPGA构建人形机器人安全




